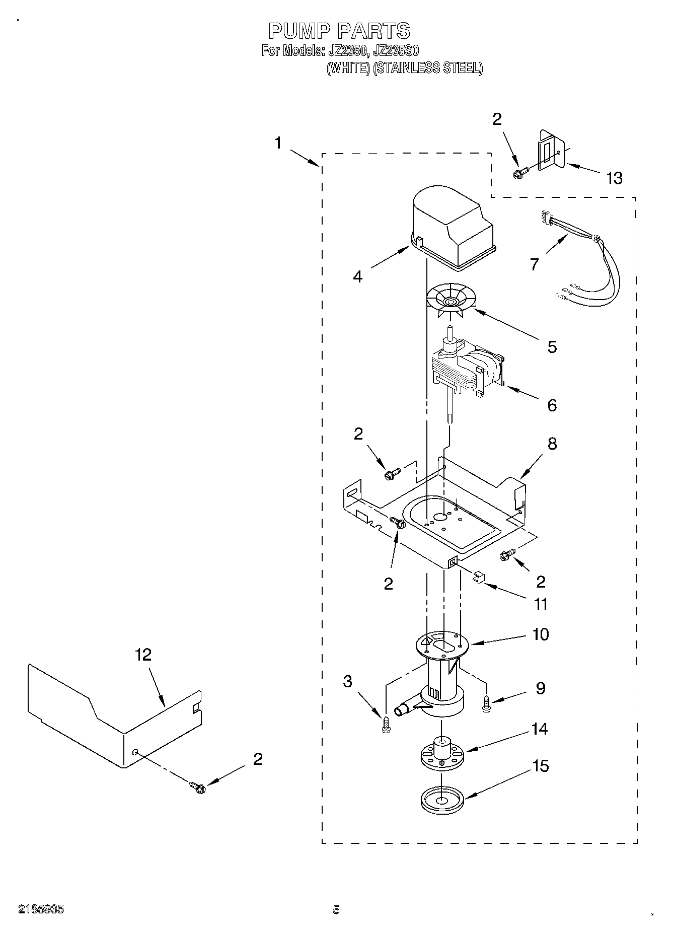
| 1 | WP2217220 Whirlpool Recirculation Pump Assembly |
| 2 | WP3400884 Whirlpool Refrigerator Screw |
| 3 | WPL 3400885 |
| 9 | WPW10001160 Whirlpool Refrigerator Screw |
| 11 | WP3400909 Whirlpool Refrigerator Nut |
| 12 | 2185677 Whirlpool Refrigerator Pump Cover |
| 13 | Bracket, Connector Assembly |