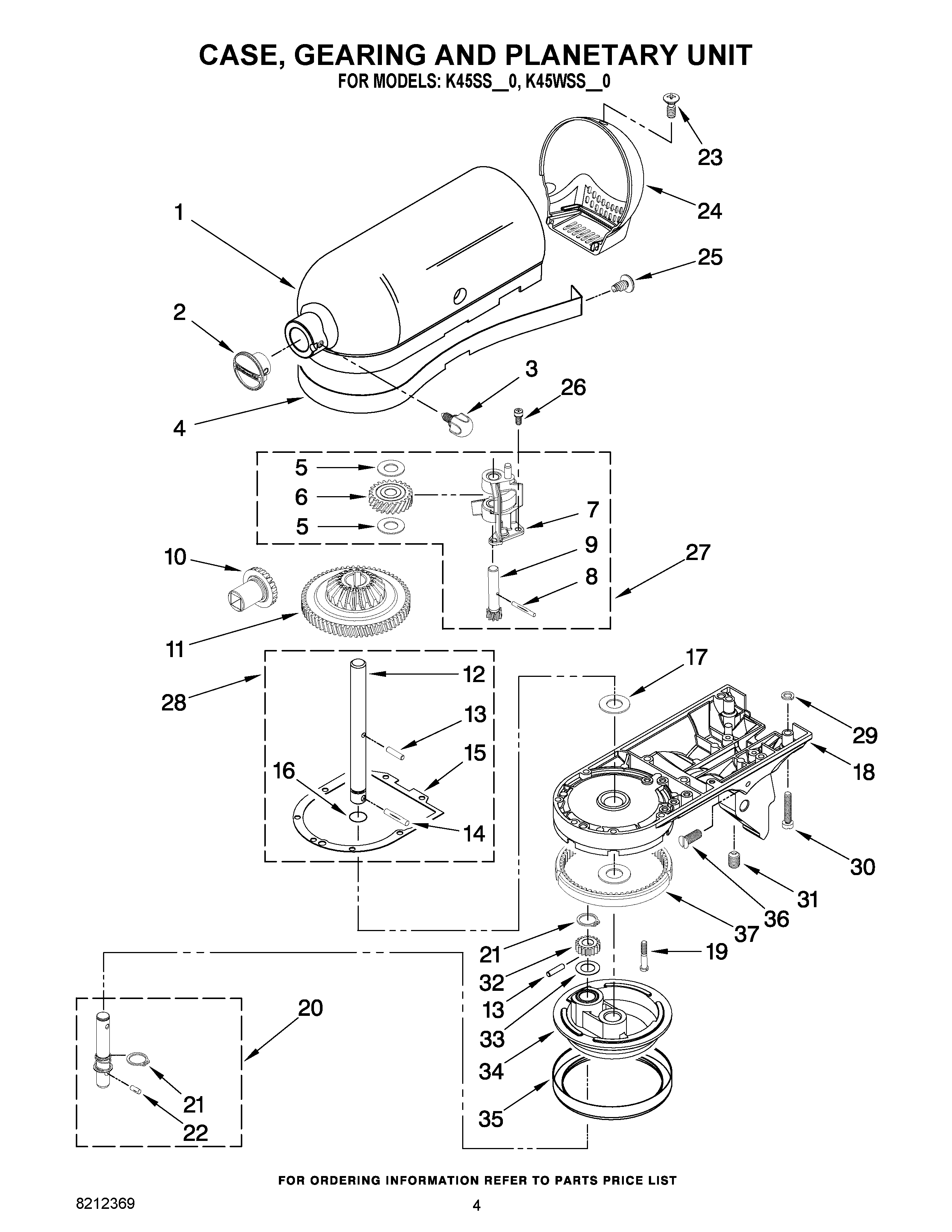
K45SSAC-0 02 – CASE, GEARING AND PLANETARY UNIT