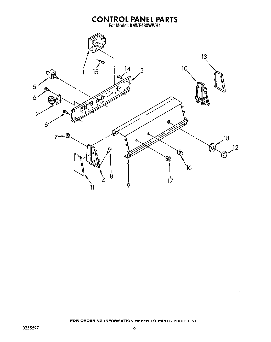
KAWE460WAL1 04 – CONTROL PANELadmin2025-04-26T09:38:38+00:00KAWE460WAL1 04 – CONTROL PANEL
Products
| Position | Product |
|---|
| 1 | 285952 Whirlpool Timer Assembly |
| 2 | Switch, Water Level |
| 3 | Bracket, Control |
| 4 | Cap, End (L.H.) |
| 5 | Switch, Water Temperature (Alt.) |
| 5 | Switch, Water Temperature |
| 5 | Switch, Water Temperature (Alt.) |
| 6 | WP90767 Whirlpool Screw |
| 7 | WP689559 Whirlpool Nut |
| 8 | WPL 64211 |
| 9 | Console, Panel |
| 10 | Cap, End (R.H.) |
| 11 | Trim, Endcap (L.H.) |
| 12 | Knob, Timer |
| 13 | Trim, Endcap (R.H.) |
| 14 | WP3351614 Whirlpool Screw |
| 15 | WP356418 Whirlpool Screw |
| 17 | Knob, Adjustable Buzzer |
| 18 | Dial, Timer |