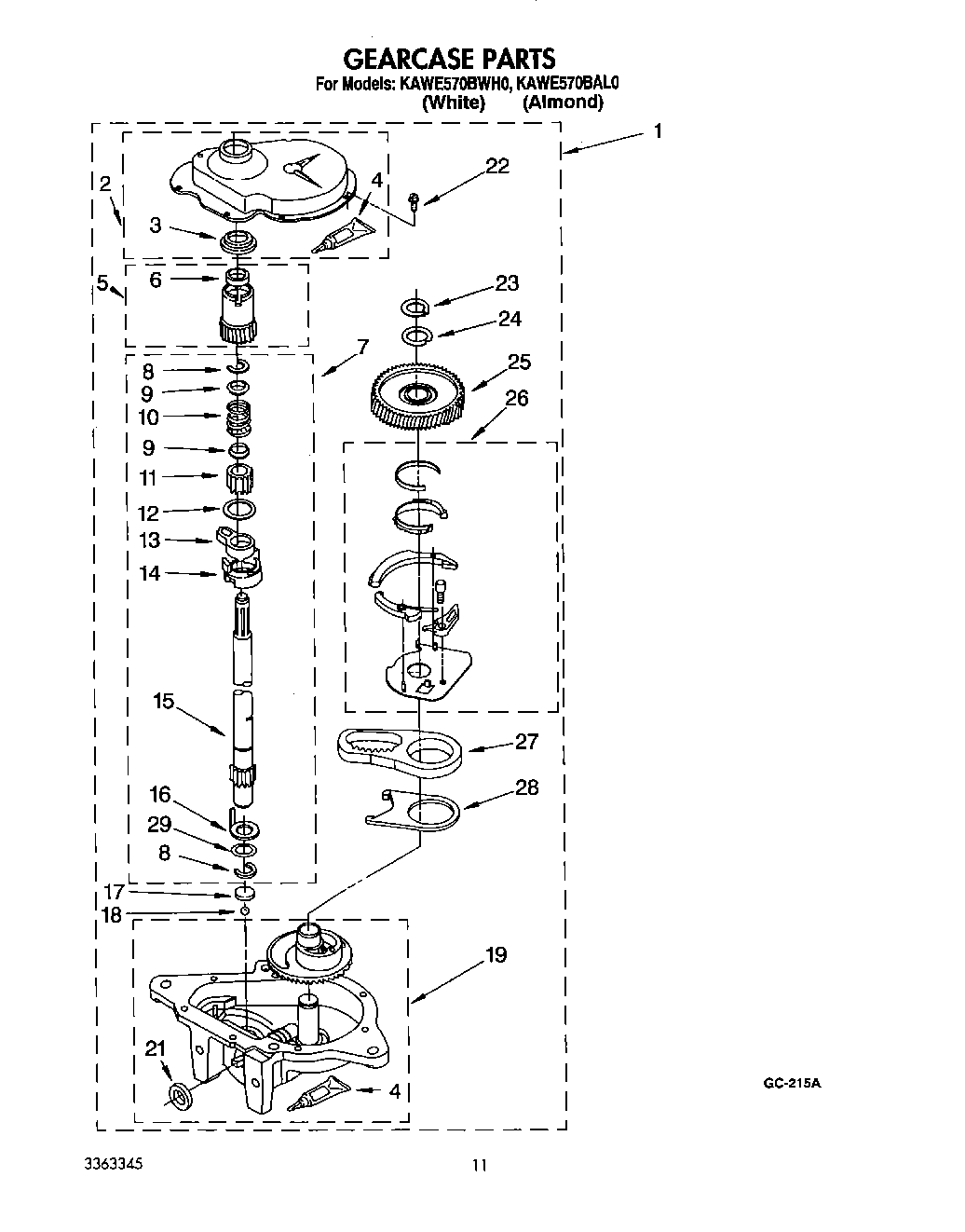
KAWE570BAL0 09 – GEARCASE