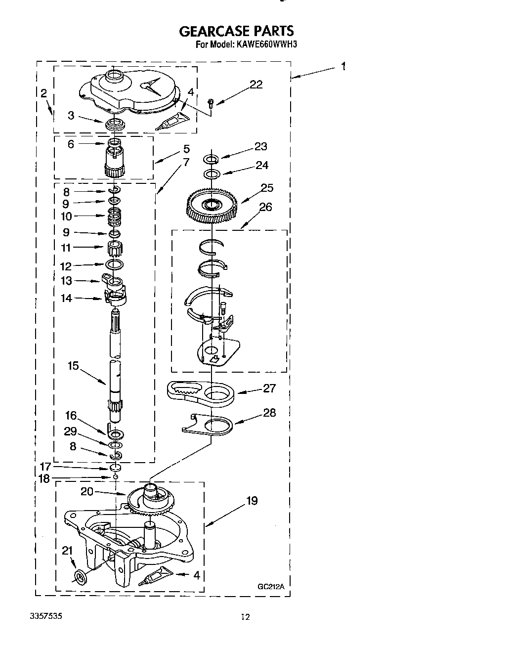
KAWE660WWH3 10 – GEARCASEadmin2025-04-26T13:04:40+00:00KAWE660WWH3 10 – GEARCASE ProductsPositionProduct13360629 Whirlpool Washer Gearcase Transmission2285202 Whirlpool Cover Assembly3WP3349985 Whirlpool Shaft Seal4WP285195 Whirlpool Sealer Assembly6WP356427 Whirlpool Shaft Seal7WP389387 Whirlpool Agitator Shaft8Ring, Retaining (2)962677 Whirlpool Retainer10Spring, Agitator1262619 Whirlpool Washer15Shaft, Agitator16Washer, Cam Thrust17285205 Whirlpool Bearing19Bottom and Pinion, Gearcase20Gear, Main Drive21285352 Whirlpool Washer Oil Seal Kit for Gearcase Input Shaft22WP3351614 Whirlpool Screw23Ring, Retaining24Washer Kit, Thrust26NEUTRL-PAK29WP388815 Whirlpool Washer