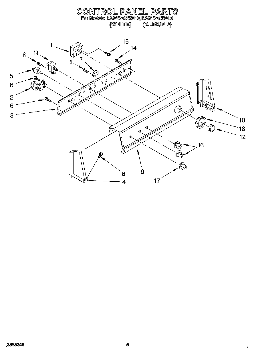
KAWE742BAL0 03 – CONTROL PANELadmin2025-04-26T13:05:29+00:00KAWE742BAL0 03 – CONTROL PANEL ProductsPositionProduct1Timer, Control 60 Hz. (Motor Not Serviced)2Switch, Water Level3WP3948608 Whirlpool Bracket4Cap, End (L.H.)5Switch, Water Temperature6WP90767 Whirlpool Screw7WP694419 Whirlpool Buzzer Adjuster8WPL 642119Panel, Console (For White & Almond Models)10Cap, End (R.H.)12Knob, Timer14WP3351614 Whirlpool Screw15WP356418 Whirlpool Screw17Knob (Control)18Dial, Timer (For White & Almond Models)19Switch, Temperature