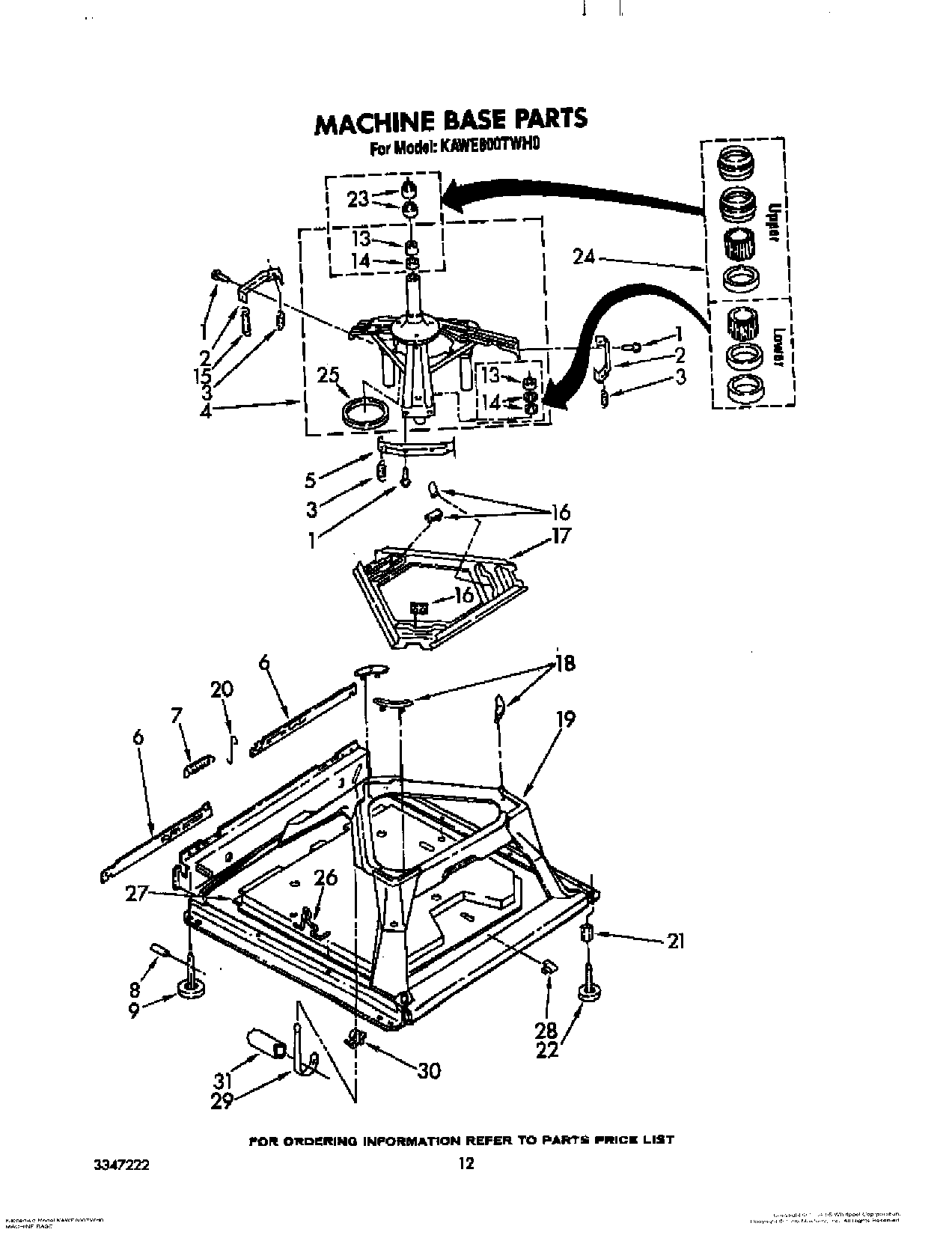
KAWE800TWH0 09 – MACHINE BASE