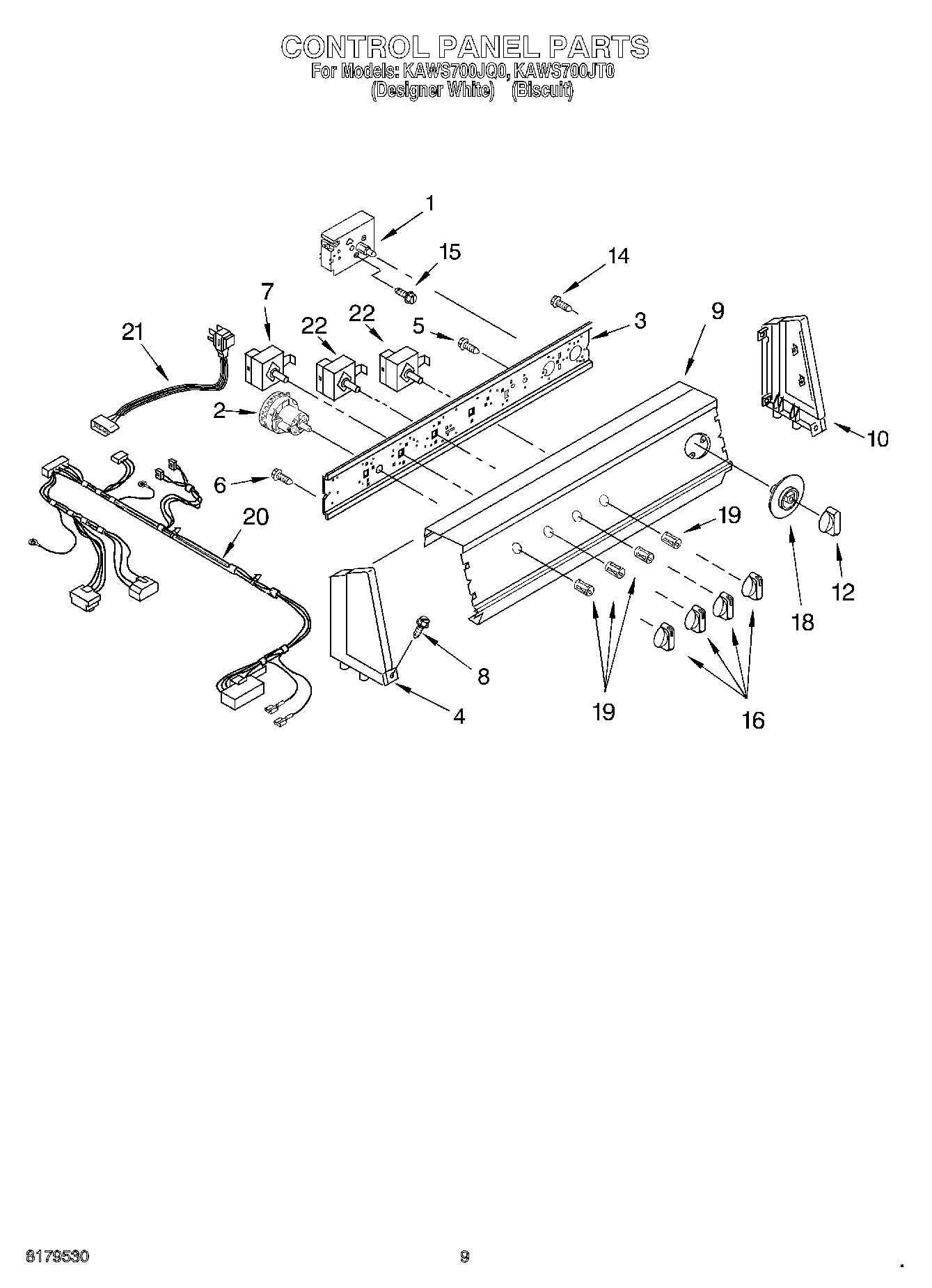
KAWS700JT0 06 – CONTROL PANEL