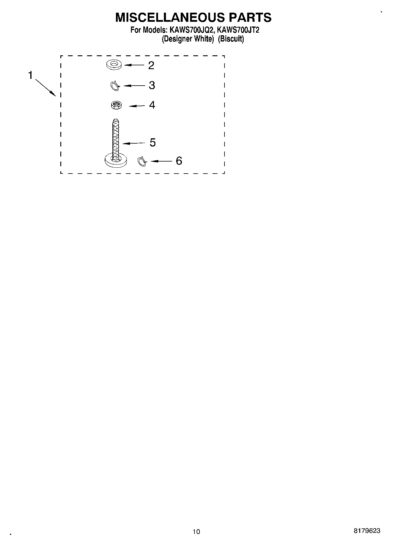
KAWS700JT2 07 – MISCELLANEOUS, OPTIONALadmin2025-04-26T13:03:09+00:00KAWS700JT2 07 – MISCELLANEOUS, OPTIONAL ProductsPositionProduct1Miscellaneous Parts Bag2WP16123 Whirlpool Washer3WP356138 Whirlpool Hose Clamp4WP3359452 Whirlpool Nut5WPW10001130 Whirlpool Leveling Leg64392901 Whirlpool Biscuit Spray Paint6LUBRICANT (USE ONLY IN BRAKE SHOE ASSEMBLY ON ROLLER & PIN)6WP285195 Whirlpool Sealer Assembly6PAINT, BULK (1 QT.) (BISCUIT (UNCUT))6WP384496 Whirlpool Hose Coupling64392899 Whirlpool Biscuit Touch-Up Paint6350930 Whirlpool White Spray Paint6Shipping Kit6350572 Whirlpool Oil Transmission 15 Oz6Drain Protector (Not Included)6285320 Whirlpool Washer Siphon Break Kit6799344 Whirlpool Refrigerator Paint672017 Whirlpool Appliance Touch-Up Paint White6350938 Whirlpool Spray Gun6WP3357331 Whirlpool Clamp