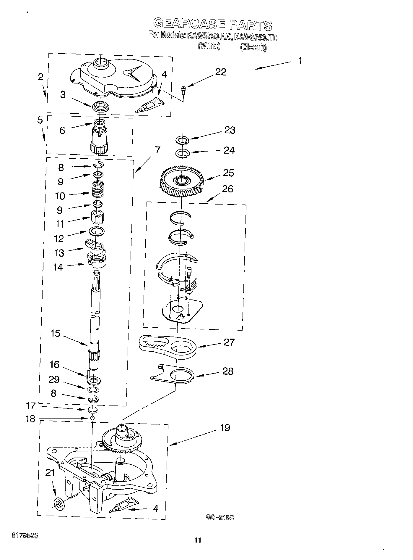
KAWS750JT0 08 – GEARCASE