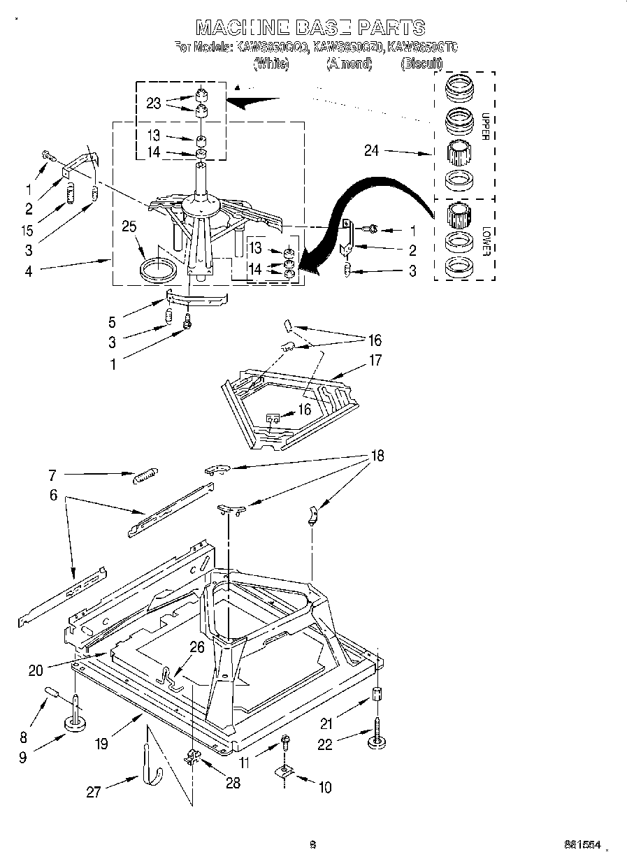
KAWS850GT0 05 – MACHINE BASE