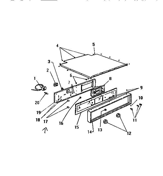
KB443GDM1 02 – CONTROL PANELadmin2025-04-26T10:04:25+00:00KB443GDM1 02 – CONTROL PANEL ProductsPositionProduct1WCI K51102012WCI K13119843WCI K1312065408002868 Frigidaire 0 Screw Assembly5WCI K13161066WCI Q4010027SCREW - THERMO BRACKET 6-32 X 3/16 (2)8WCI K50871019WCI KGM942239310WCI K116455011KNOB, TIMER12WCI K515630113WCI K131207214WCI K131385315WCI K507790116WCI Q50144217WCI K130746618SCREW19WCI K131510420WCI K1310638