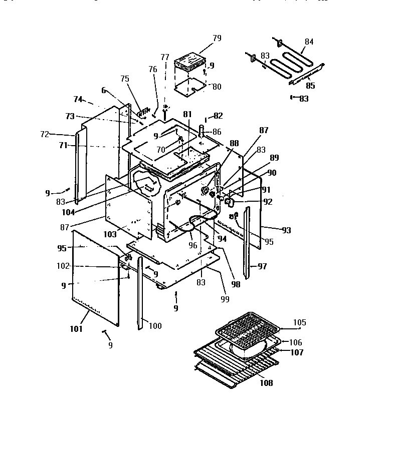
KB663GDM1 04 – OVEN CAVITYadmin2025-04-26T10:03:36+00:00KB663GDM1 04 – OVEN CAVITY ProductsPositionProduct70WCI K132210471WCI K132425572WCI K132425674WASHER (6)75TERMINAL BLOCK76SCREW77WIRING HARNESSES ARE NOT AVAILABLE FOR THIS MODEL79WCI K131841080WCI K131806881WCI Q13423482SCREW8308002868 Frigidaire 0 Screw Assembly84WCI K131005085HANGER86WCI K505500287WCI K131380288CUP, OVEN LT89316116400 Frigidaire Oven Light Socket90WCI Q63749915304524341 Frigidaire Lens92RETAINING WIRE94WCI K132554495WCI K1314181965308003347 Frigidaire Oven Element98WCI K131380399WCI K1324257100WCI K1301496101WCI K1324258102WCI K1313811103WCI KGM142017104BRACKET THERM. BULB105GRILLE, BROILER1065304442087 Frigidaire Range Wall Oven Broil Pan and Insert107WCI K1307706108WCI K1307707