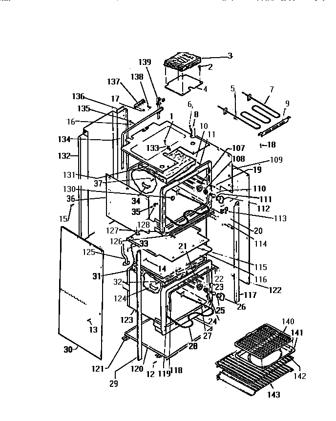
KB883GDM1 06 – OVEN CAVITYadmin2025-04-26T10:04:19+00:00KB883GDM1 06 – OVEN CAVITY ProductsPositionProduct3WCI K13184104WCI 13180686SCREW7WCI K13100508WCI K50550029HANGER11WCI 132554417WCI Q40100231WCI Q1342343708002868 Frigidaire 0 Screw Assembly107CUP, OVEN LT108316116400 Frigidaire Oven Light Socket109WCI K1313802110WCI Q637491115304524341 Frigidaire Lens112RETAINING WIRE113WCI K13141811145308003347 Frigidaire Oven Element115WCI K1313803116WCI K1315153117WCI K1301497118WCI K1314782119WCI K1309666120WCI K1324257121WCI 1313811122WCI K1324272123WCI K1325547124BRACKET THERM. BULB125WCI K1314789126WCI K1323157127WCI K1315098128WCI K1325069130BUTTON-PLUG (2)131WCI K1324255132WCI K1324271133WCI K1322104134WCI K1314783135WASHER (6)136WCI K1322515137TERMINAL BLOCK138SCREW140GRILLE, BROILER1415304442087 Frigidaire Range Wall Oven Broil Pan and Insert142WCI K1307706143WCI K1307707