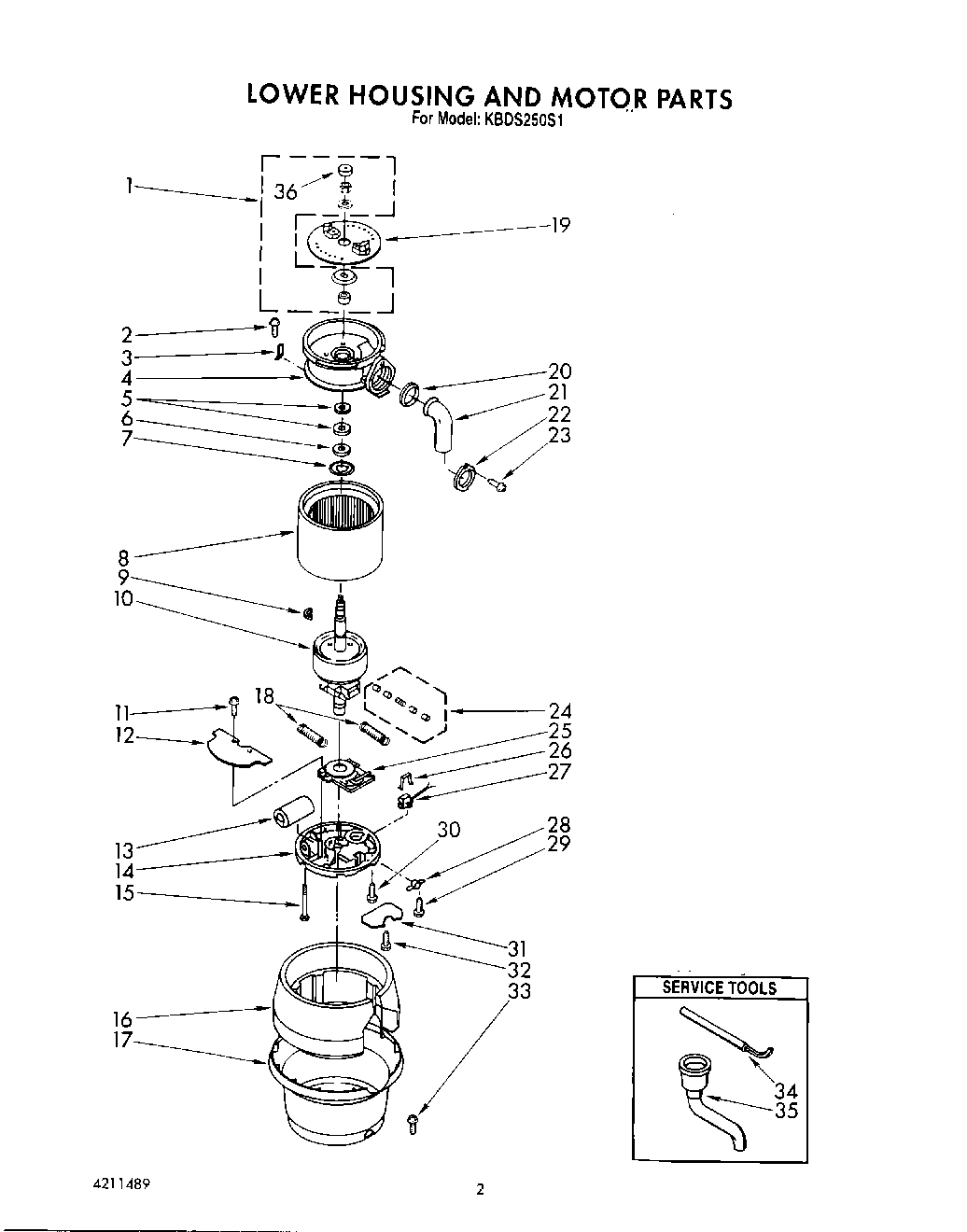
| 1 | 4211578 Whirlpool Disposer Sleeve |
| 2 | WP7101P246-60 Whirlpool Screw |
| 3 | Shield, Wire Cover |
| 4 | End Bell Assembly (Upper) |
| 5 | Washer, Phenolic (2) |
| 6 | Washer, Rubber |
| 7 | Washer, Thrust |
| 8 | Stator Assembly |
| 9 | Ring, C |
| 10 | Rotor And Shaft Assembly |
| 12 | Shield, Insulation |
| 13 | Capacitor |
| 14 | End Frame Assembly (Lower) |
| 15 | Bolt, Thru (4) |
| 16 | Insulation, Bottom |
| 17 | Shell Assembly, |
| 18 | Spring (2) (Centrifugal Actuator) |
| 19 | Shredder Assembly, Rotating |
| 20 | Gasket, Tailpipe |
| 21 | 4211317 Whirlpool Disposer Tail Pipe |
| 22 | Flange, Tailpipe |
| 23 | WP8204624 Whirlpool Bolt |
| 24 | Transfer Assembly |
| 25 | Switch Assembly, Start |
| 26 | Clip, Overload |
| 27 | Protector, Overload |
| 28 | Clamp, BX |
| 29 | Screw, Clamp (2) |
| 30 | Screw, Ground |
| 31 | Cover, Terminal |
| 32 | Screw |
| 33 | Screw, Tapping |
| 34 | WP8174310 Whirlpool Disposer Wrench |
| 35 | 4211396 Whirlpool Disposer Adapter |