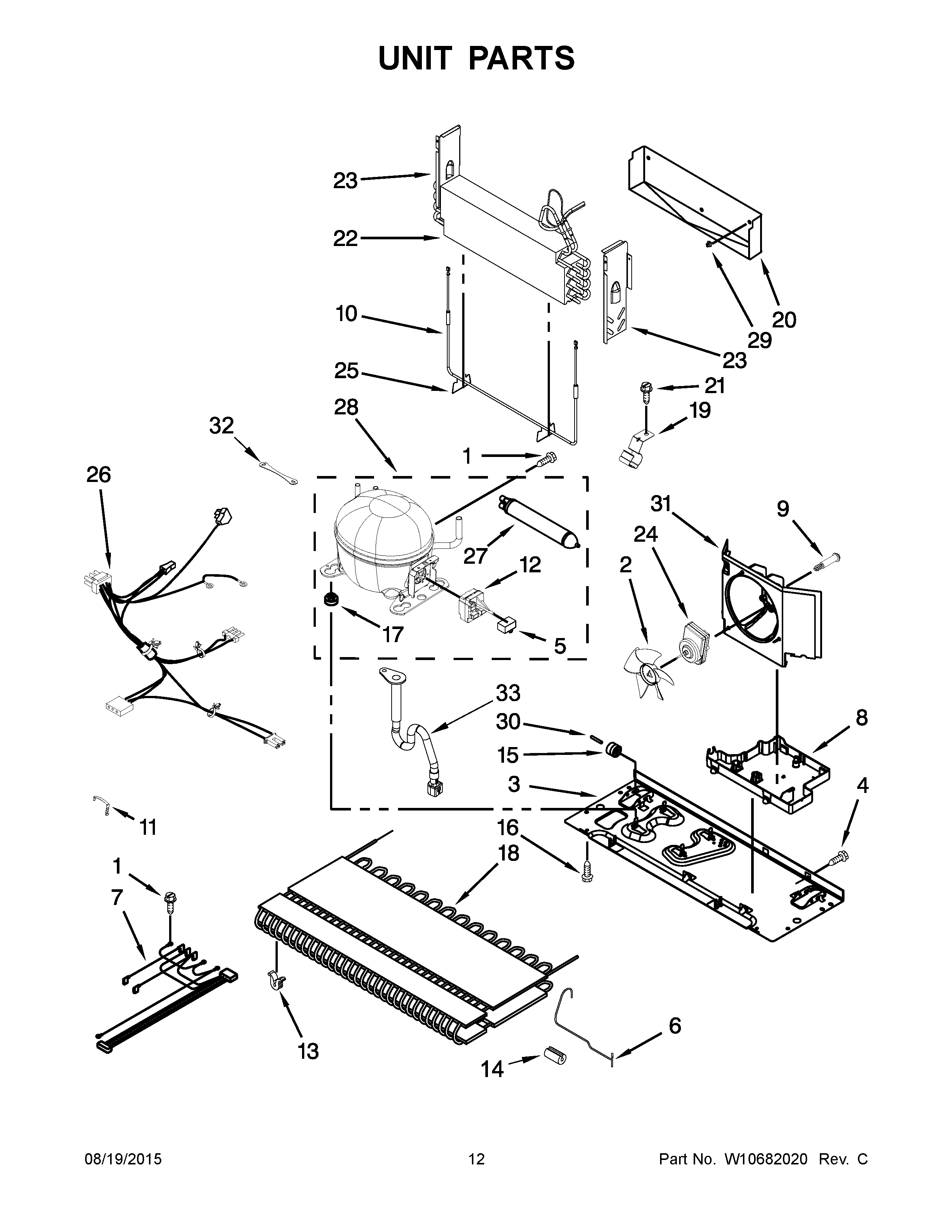
KBFS20ECBL00 07 – UNIT PARTSadmin2025-04-26T12:03:18+00:00KBFS20ECBL00 07 – UNIT PARTS ProductsPositionProductNI978030 Whirlpool Refrigerator ValveNIVALVE, ACCESS (5/8``)NI876764 Whirlpool Refrigerator Primary ValveNI978026 Whirlpool Refrigerator Primary ValveNI978027 Whirlpool Refrigerator Primary ValveNICABINET (NOT A SERVICEABLE PART)NIWP978025 Whirlpool Refrigerator ValveNIVALVE, ACCESS (1/2``)112992301 Whirlpool Refrigerator Screw2WP12825803 Whirlpool Refrigerator Fan Blade3W11727651 Whirlpool Plate Assembly467006425 Whirlpool Refrigerator Screw5WPW10350564 Whirlpool Refrigerator Freezer Capacitor6W10242974 Whirlpool Refrigerator 25" Tube7W10911102 Whirlpool Refrigerator Wire Harness8WPW10655368 Whirlpool Refrigerator Drip Pan9W10829281 Whirlpool Refrigerator Screw10WP12729123 Whirlpool Refrigerator Heater11STRAP, BALE12W10892065 Whirlpool Refrigerator Compressor Start Relay Device13WPW10137529 Whirlpool Refrigerator Grommet14W10852725 Whirlpool Refrigerator Grommet15WP67005149 Whirlpool Roller16Screw17WPW10169124 Whirlpool Refrigerator Grommet18WPW10346415 Whirlpool Refrigerator Condenser19W10281329 Whirlpool Clamp20W11547653 Whirlpool Refrigerator Drip Tray21WP33001882 Whirlpool Screw22W11256565 Whirlpool Refrigerator Evaporator23Dam (Left Side)23ADam (Right Side)24W11613295 Whirlpool Condenser Motor25W11673433 Whirlpool Clip26W11224411 Whirlpool Refrigerator Wire Harness27WPW10143759 Whirlpool Dryer Filter28WPW10466675 Whirlpool Refrigerator Compressor29CLIP, EVAP (2)3067006434 Whirlpool Axle Pin31W11556315 Whirlpool Shroud32W10236396 Whirlpool Refrigerator Strap33W10619951 Whirlpool Drain Tube with Grommet