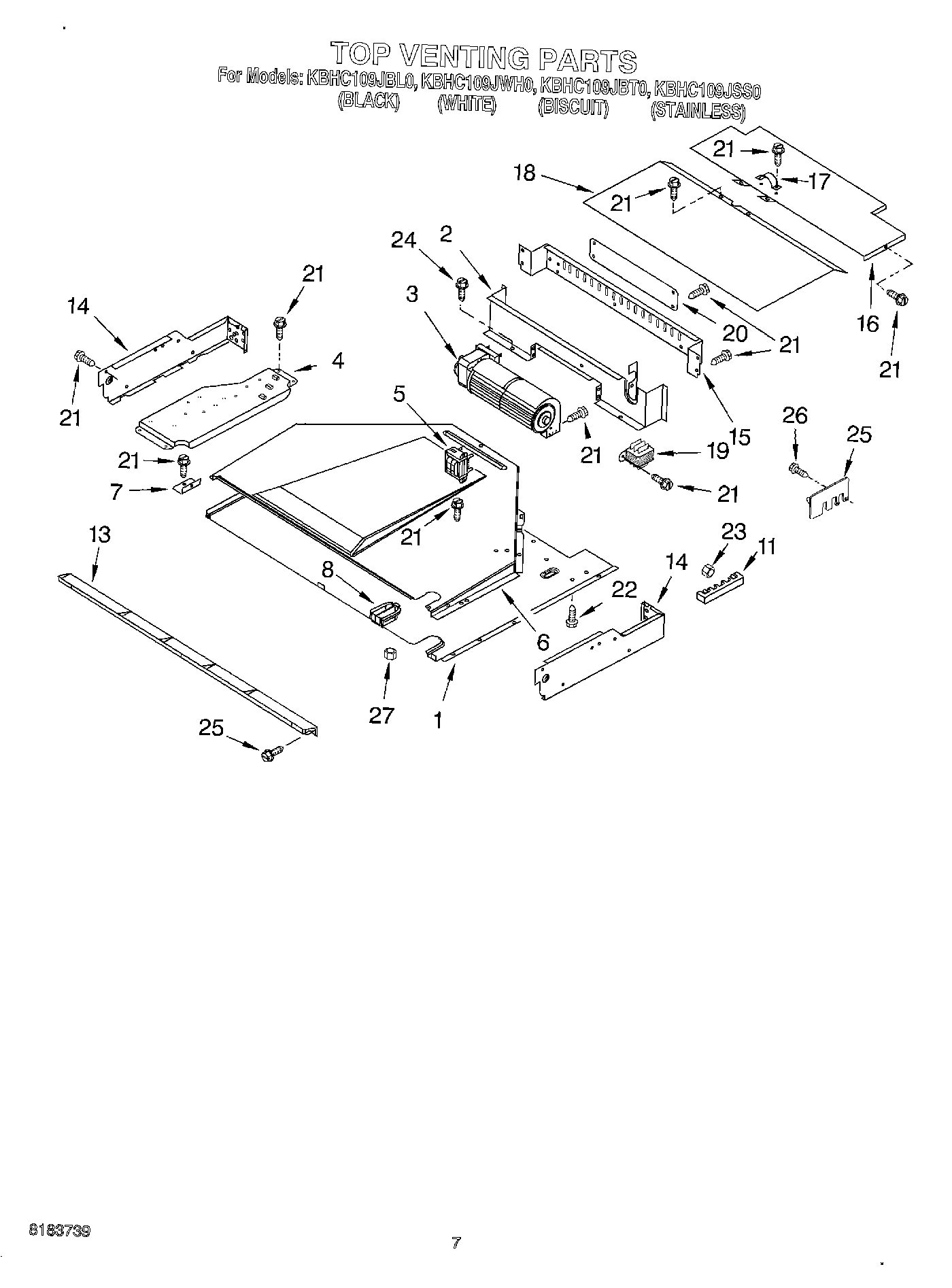
KBHC109JSS0 05 – TOP VENTINGadmin2025-04-26T11:42:47+00:00KBHC109JSS0 05 – TOP VENTING ProductsPositionProduct1Cover, Top2Baffle, Blower3Blower4Plate, Mounting5WP9760588 Whirlpool Transformer6Exhaust Duct7Bracket, Duct8Grommet11WP8203546 Whirlpool Terminal Block13Vent-Cntrl Panel14W10755214 Whirlpool Side Complete14W10790240 Whirlpool Side Assembly Complete15Back, Control16WP4450551 Whirlpool Top Cabinet174448664 Whirlpool Oven Mounting Bracket18WP4452367 Whirlpool Top Cover19Transformer, Control Panel20Plate, Cover21WP4449809 Whirlpool Screw23WP112432 Whirlpool Nut Assembly24489392 Whirlpool Refrigerator Screw25Suppressor26WP3400016 Whirlpool Screw Assembly27WP4450118 Whirlpool Nut