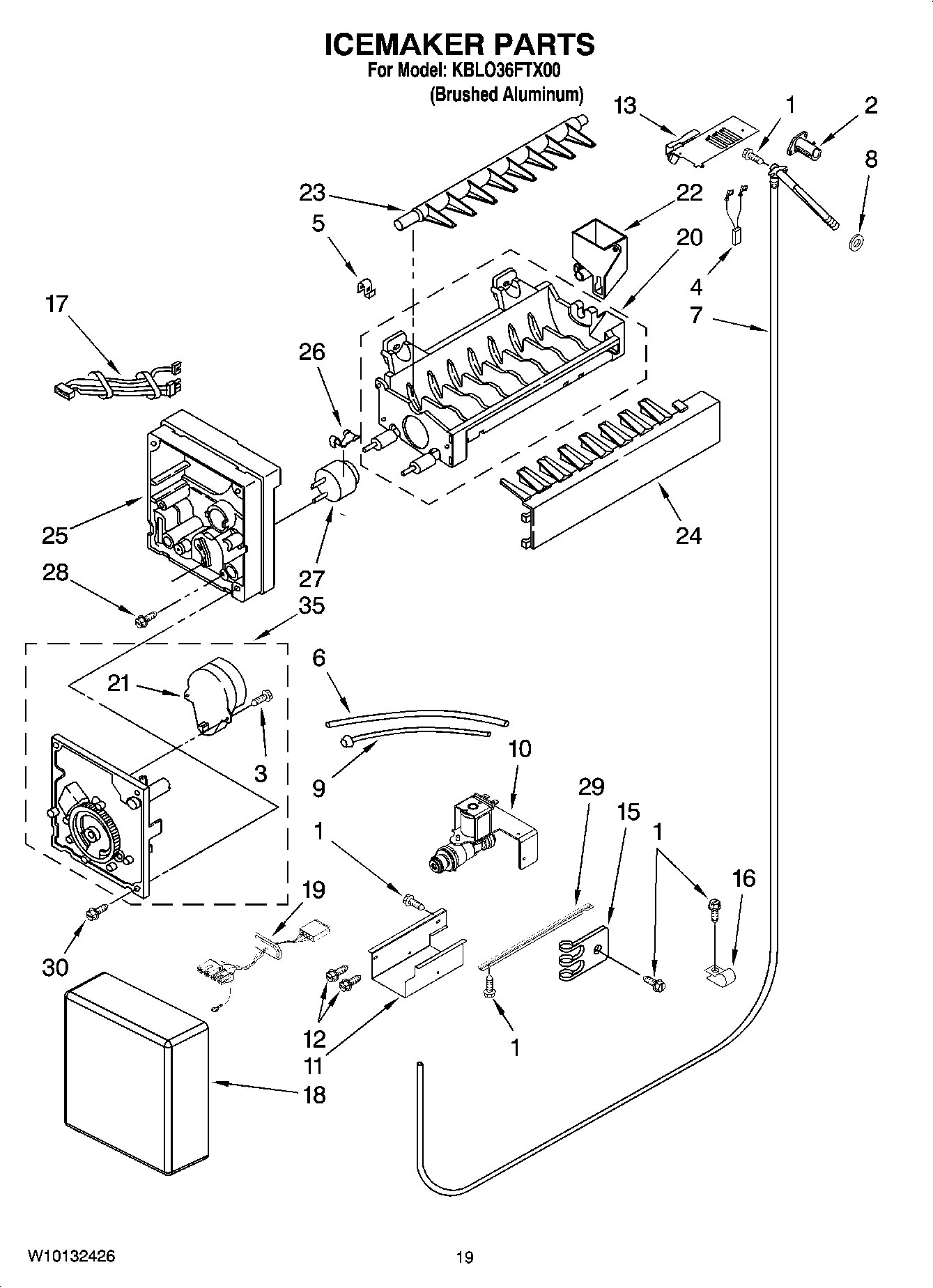
KBLO36FTX00 11 – ICEMAKER PARTSadmin2025-04-26T11:47:53+00:00KBLO36FTX00 11 – ICEMAKER PARTS ProductsPositionProductFollowing Parts Not Illustrated (Optional Parts Only)W10129081 Whirlpool Refrigerator HandleCleaner, Stainless Steel1W11624204 Whirlpool Screw2WP2221240 Whirlpool Refrigerator Heater3489136 Whirlpool Refrigerator Screw4Jumper, Heater Fill Tube5WP628379 Whirlpool Refrigerator Clip6Tube, Filter Inlet72317847 Whirlpool Refrigerator Water Tube8WP1106508 Whirlpool Refrigerator Gasket9W11533506 Whirlpool Refrigerator Water Tube10VALVE-INLT REFR11Shield, Valve12WP489464 Whirlpool Refrigerator Screw13WP2221231 Whirlpool Refrigerator Shield15489348 Whirlpool Refrigerator Tube Clamp16488946 Whirlpool Air Conditioner Clamp172310136 Whirlpool Refrigerator Wire Harness18Cover19Wire Assembly (Water Valve)20WPW10190929 Whirlpool Refrigerator Ice Maker Mold218201515 Whirlpool Refrigerator Motor and Gear Module Kit22WP628356 Whirlpool Refrigerator Fill Cup23WP627843 Whirlpool Refrigerator Ejector Arm24WP2182124 Whirlpool Refrigerator Stripper Arm25WP2195914 Whirlpool Refrigerator Ice Maker Housing26WP2315522 Whirlpool Refrigerator Clip27WP627985 Whirlpool Icemaker Cycling Thermostat288533917 Whirlpool Refrigerator Screw29Support, Valve30WP681249 Whirlpool Screw Assembly100WPW10277450 Whirlpool Refrigerator Icemaker