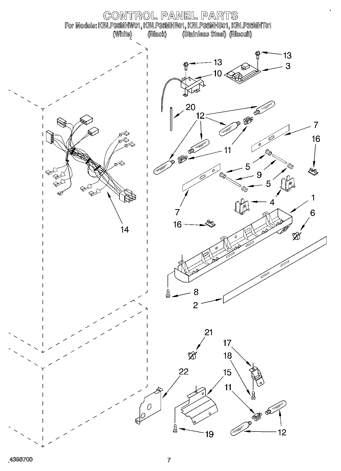
KBLP36MHB01 05 – CONTROL PANEL