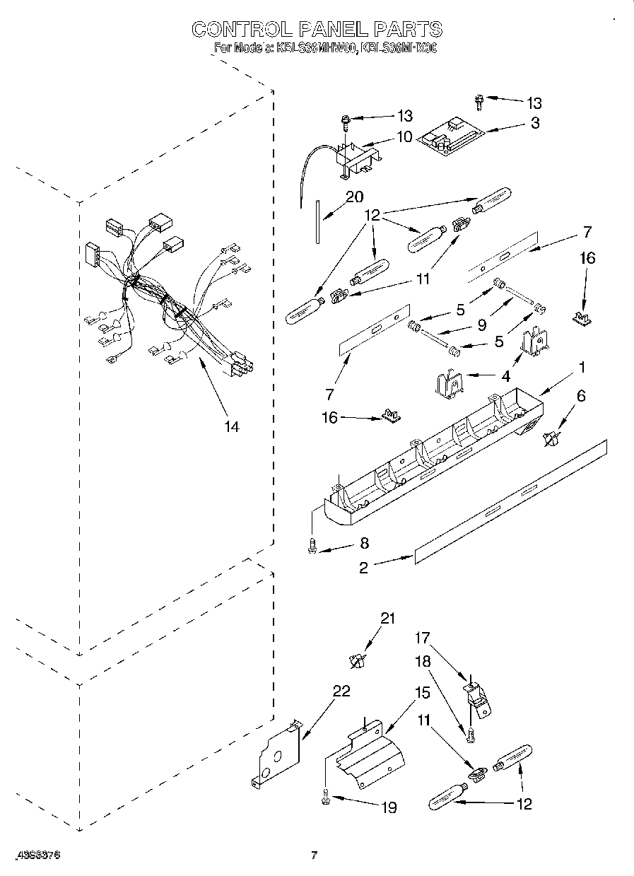
KBLS36MHW00 05 – CONTROL PANELadmin2025-04-26T09:34:31+00:00KBLS36MHW00 05 – CONTROL PANEL
Products
| Position | Product |
|---|
| 1 | Control Panel |
| 2 | Overlay, Control Panel |
| 3 | Circuit Board |
| 4 | Slide, Control |
| 5 | Grommet, Light Fiber |
| 6 | W11384469 Whirlpool Door Switch |
| 7 | Heat Shield, Lamp |
| 8 | Screw (3) |
| 9 | Fiber Optic |
| 10 | Thermostat |
| 11 | Socket, Light |
| 12 | WP548049 Whirlpool Refrigerator Light Bulb |
| 13 | 2006254 Whirlpool Refrigerator Screw |
| 14 | Harness, Control Box |
| 15 | Channel, Wiring Freezer Light |
| 16 | CLIP, WIRING |
| 17 | Bracket, Freezer Light |
| 18 | WP489128 Whirlpool Refrigerator Screw |
| 19 | W11624204 Whirlpool Screw |
| 20 | Tube-Barrier, Thermostat |
| 21 | W11457217 Whirlpool Refrigerator Rocker Switch Combination |
| 22 | Wiring Cover, Icemaker |