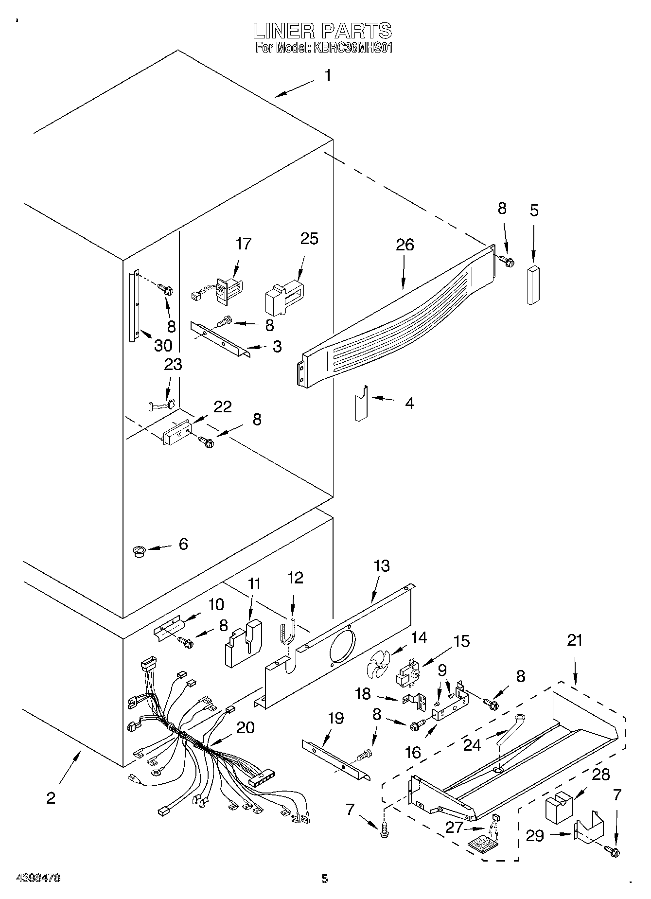
| 1 | Liner, Refrigerator (Not Serviceable) |
| 2 | Liner, Freezer (Not a Serviceable Part) |
| 3 | Wiring Channel Side |
| 4 | Diffuser Cap, Left Side |
| 5 | Diffuser Cap, Right Side |
| 6 | 2171846 Whirlpool Refrigerator Release Valve |
| 7 | WP488729 Whirlpool Refrigerator Door Screw |
| 8 | W11624204 Whirlpool Screw |
| 9 | Grommet (3) |
| 10 | Wiring Channel, Freezer Rear |
| 11 | Foam, Fan Shroud |
| 12 | Grommet, Flexible |
| 13 | Shroud, Evaporator Fan |
| 14 | WP2169142 Whirlpool Fan Blade |
| 15 | MOTOR-EVAP |
| 16 | Fan Bracket, Single |
| 17 | Air Baffle Assembly |
| 18 | Fan, Bracket Double |
| 19 | Wiring Channel Freezer, Side |
| 20 | Wiring Harness, Freezer |
| 21 | Cover, Evaporator Assembly |
| 22 | 1116793 Whirlpool Refrigerator Cover |
| 23 | Thermistor |
| 24 | Drain Tube, Condesate |
| 25 | Insulation, Baffle |
| 26 | Cover, Air Diffuser |
| 27 | Heater-Tube, Drain |
| 28 | Insulation, Tube Drain |
| 29 | Cover, Tube Drain |
| 30 | Guard, Capillary Tube |