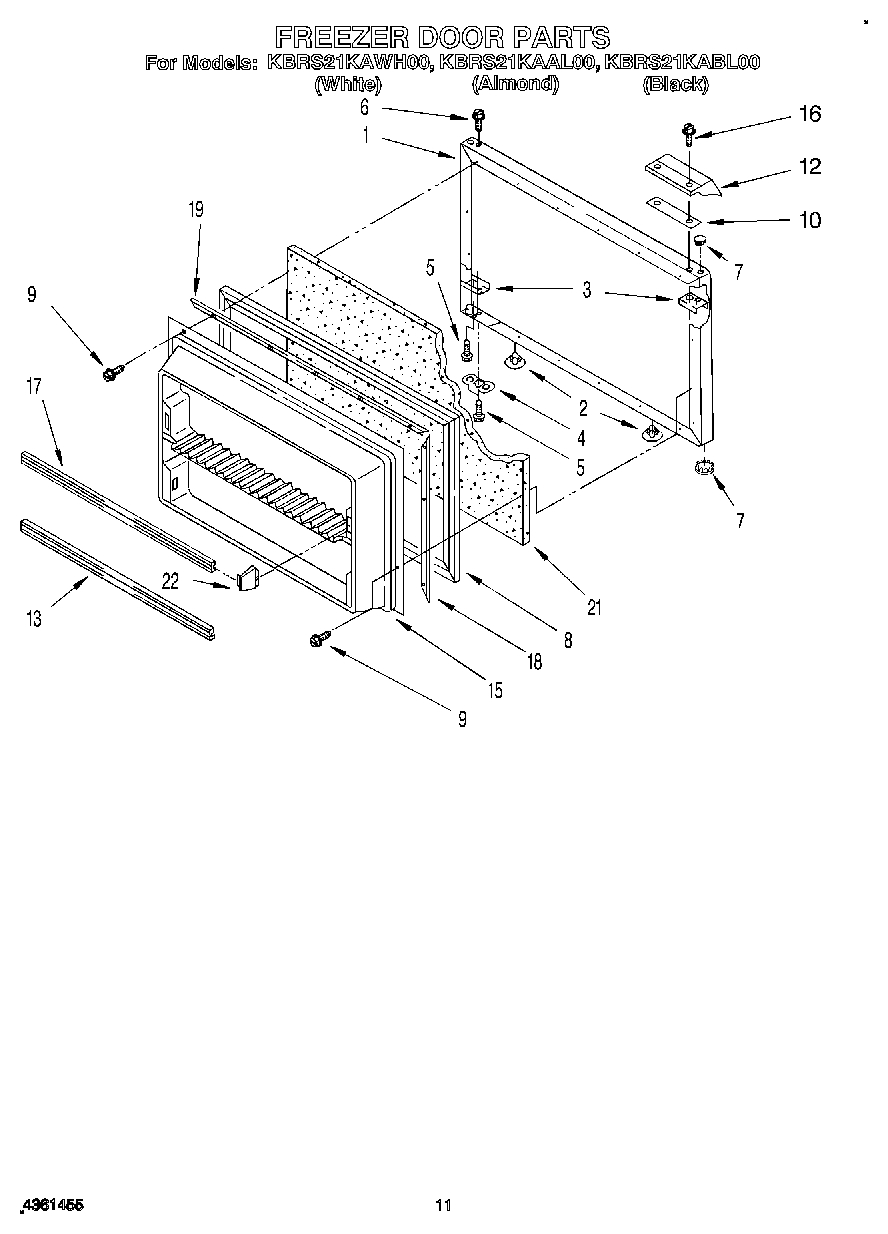
KBRS21KABL00 07 – FREEZER DOOR