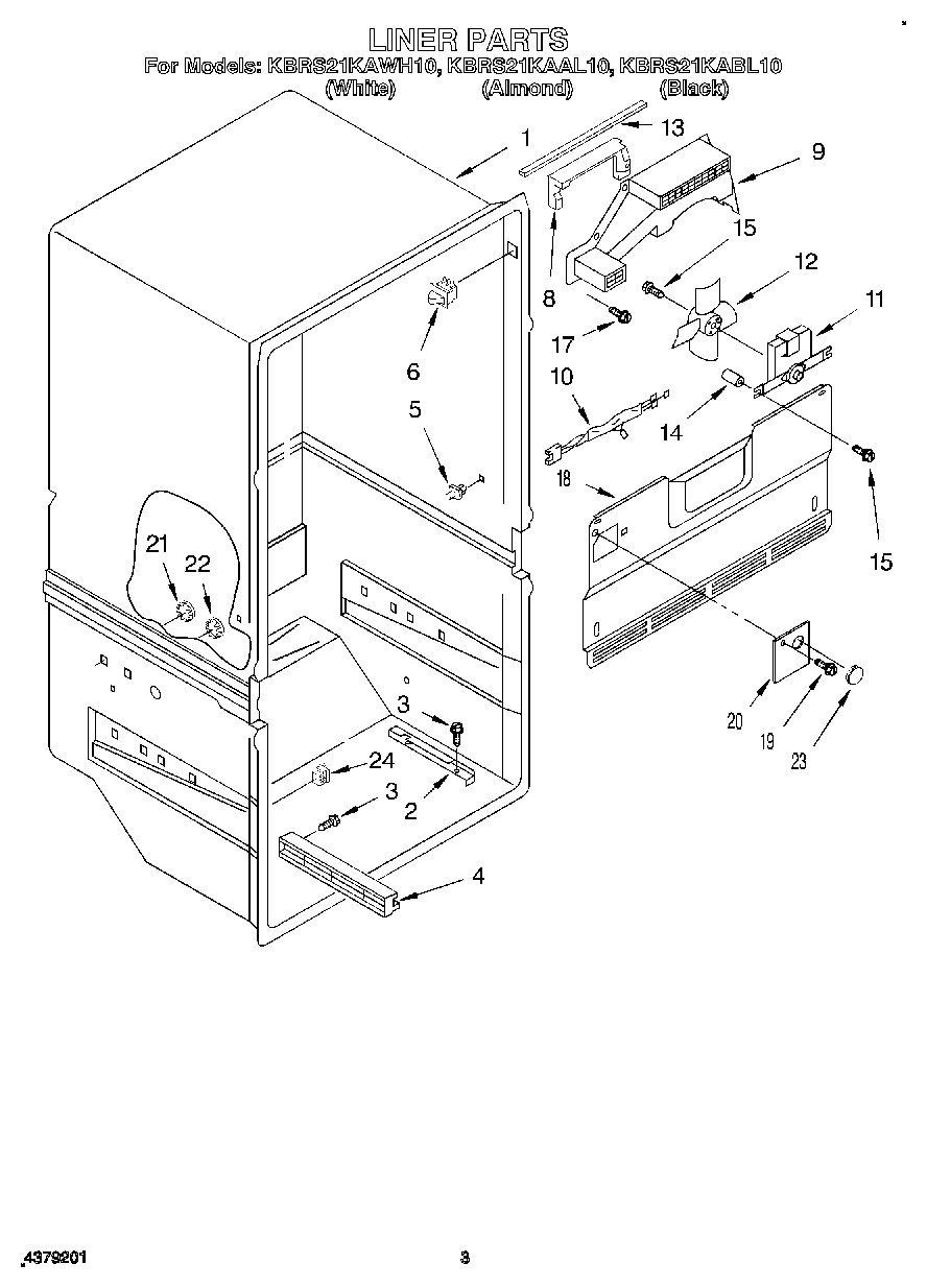
KBRS21KABL10 02 – LINER