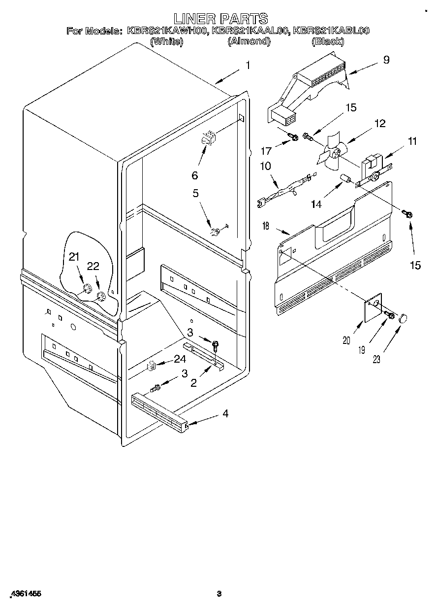
| 1 | Liner (Not A Serviceable Part) |
| 2 | Slide, Basket (R.S) |
| 2 | Slide, Basket (Left Side) |
| 3 | W11693756 Whirlpool Screw Assembly |
| 4 | Shelf Track, (Left Side) |
| 4 | Shelf Track, (Right Side) |
| 5 | W10854959 Whirlpool Refrigerator Shelf Stud |
| 6 | W11384469 Whirlpool Door Switch |
| 9 | Scroll, Fan |
| 10 | Wiring Assembly, Fan Motor |
| 11 | Fan Motor |
| 12 | Fan Blade |
| 14 | Grommet |
| 15 | Screw (2) |
| 17 | WP489478 Whirlpool Refrigerator Screw |
| 18 | Cover, Evaporator |
| 19 | WP488729 Whirlpool Refrigerator Door Screw |
| 20 | Hole Cover, Evaporator |
| 22 | WP941839 Whirlpool Refrigerator Button Plug |
| 23 | Hole Plug |
| 24 | W11457217 Whirlpool Refrigerator Rocker Switch Combination |