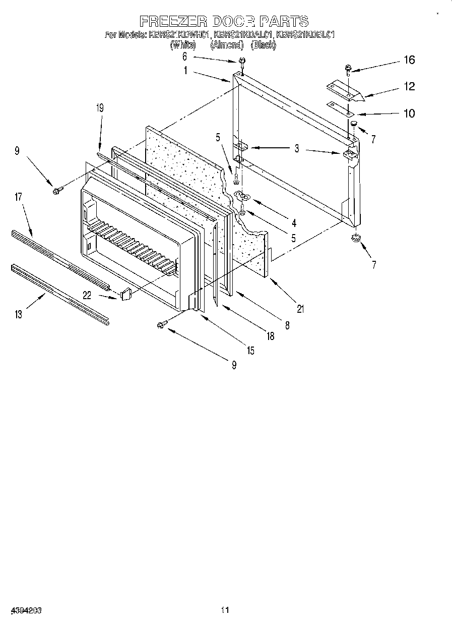
KBRS21KDWH01 07 – FREEZER DOORadmin2025-04-26T09:42:22+00:00KBRS21KDWH01 07 – FREEZER DOOR ProductsPositionProduct1Freezer Door Panel (Also Order Item 21) (White)1Panel, Freezer Door (Also Order Item 21) (Almond)1Panel, Freezer Door (Also Order Item 21) (Black)3W10833053 Whirlpool Refrigerator Plate4Bracket, Door Stop5WP488921 Whirlpool Refrigerator Screw6Screw Anchor7WP2212648 Whirlpool Refrigerator Hinge Sleeve Hole Plug7Hole Plug (Almond)7WP2212651 Whirlpool Refrigerator Button Plug8Door Gasket (Black)8Door Gasket (Mist Beige)9WP489442 Whirlpool Refrigerator Screw9SCREW10Shim12Handle13Trim, Door Shelf15Interior Door Panel16WP488920 Whirlpool Refrigerator Screw17Trim, Door18WPL 98601519Gasket Retainer, Top & Bottom21WPL 876029224386917 Whirlpool Endcap Kit