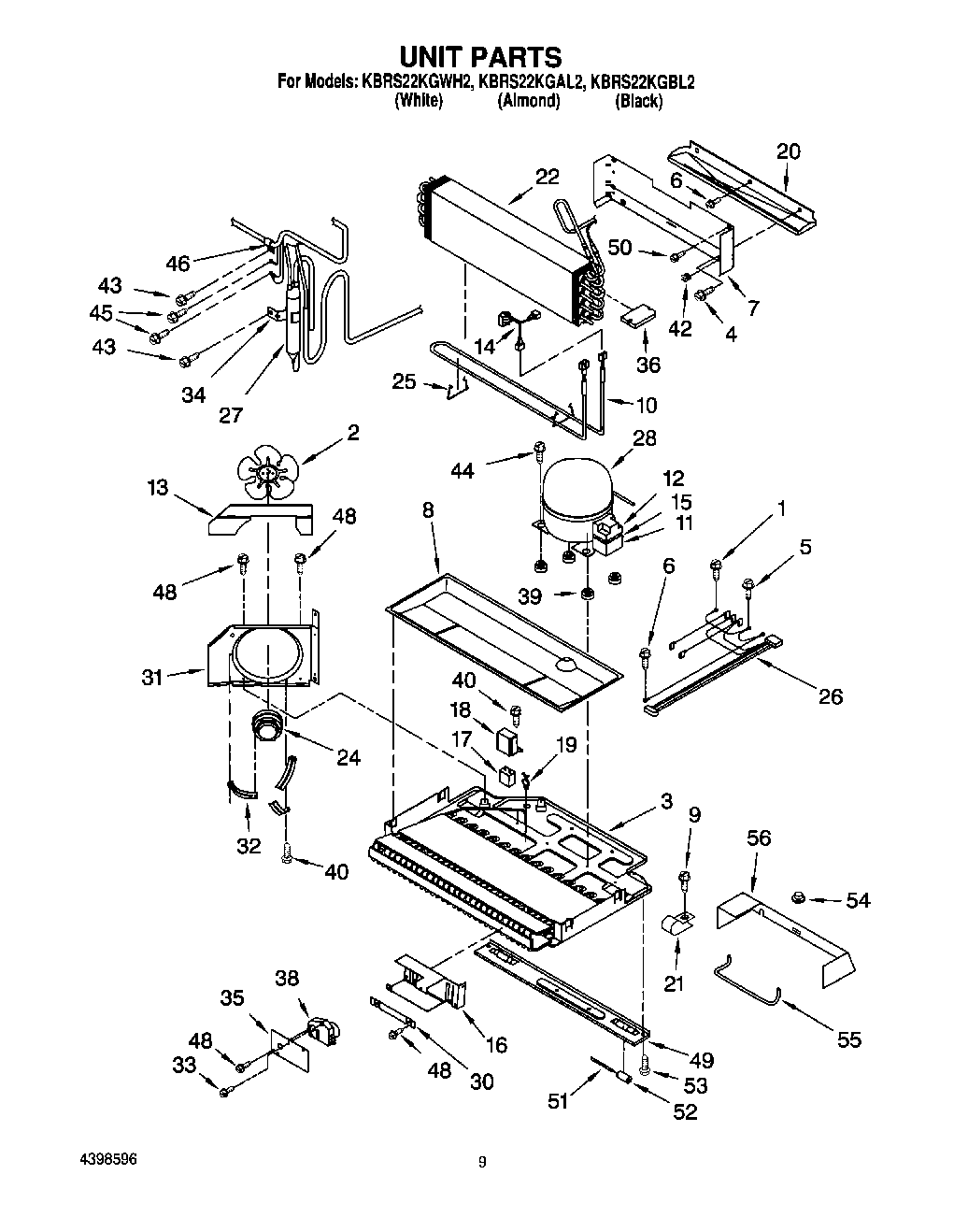
KBRS22KGAL2 06 – UNIT