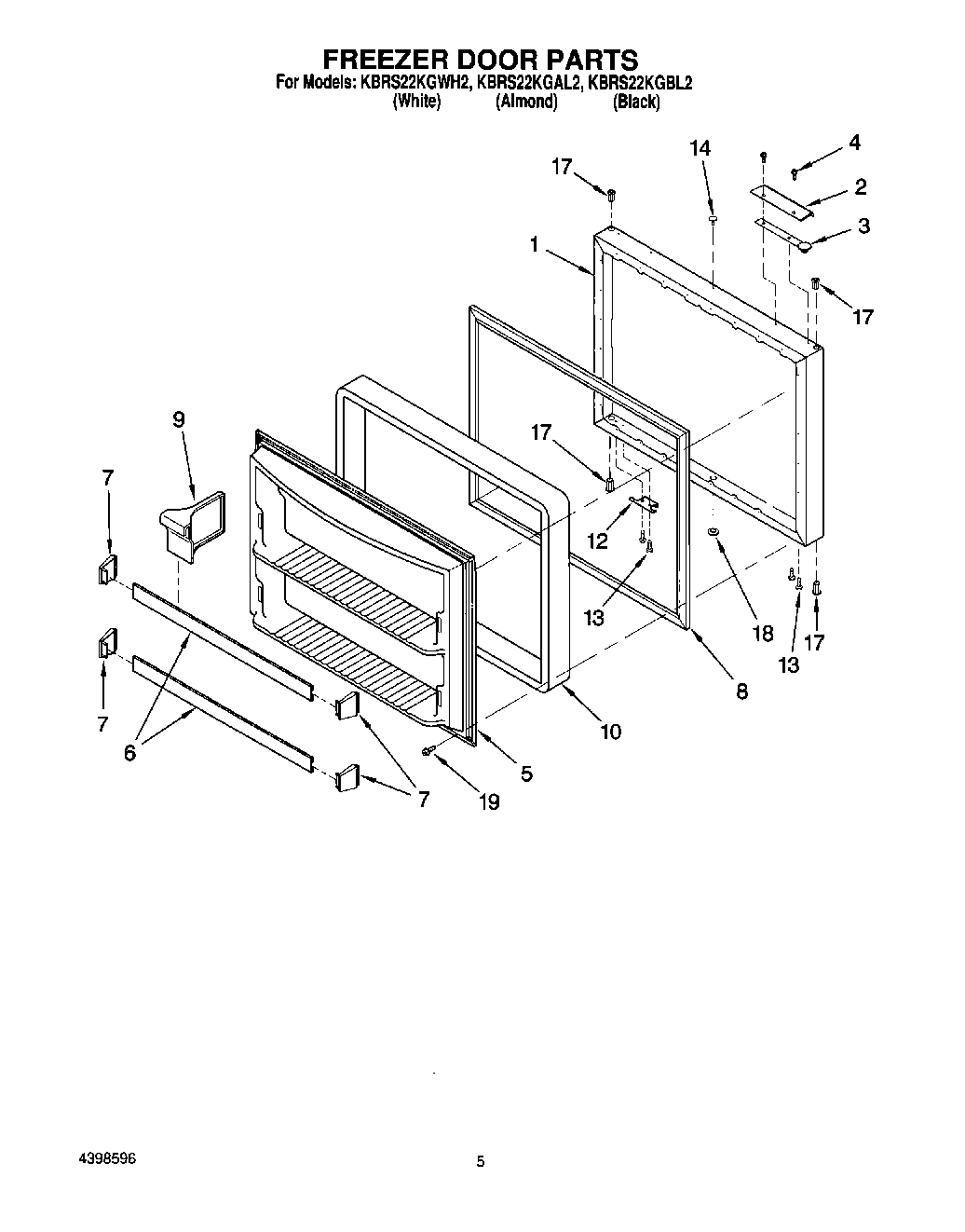
KBRS22KGBL2 03 – FREEZER DOORadmin2025-04-26T09:42:04+00:00KBRS22KGBL2 03 – FREEZER DOOR ProductsPositionProduct1Freezer Door Panel (Includes Insulation) (Almond)1Freezer Door Panel (Includes Insulation) (White)1Freezer Door Panel (Includes Insulation) (Black)2Handle (Almond)2Handle (Black)2Handle (White)3Plug, Button (Almond)3Plug, Button (Black)3Plug, Button (White)4Screw5Interior Panel6Trim, Shelf74386917 Whirlpool Endcap Kit8WP12550101Q Whirlpool Refrigerator Gasket8WP12550116Q Whirlpool Refrigerator Gasket9WPL 434430010876370 Whirlpool Refrigerator Insulation12W11708403 Whirlpool Door Stop1212968202W Whirlpool Refrigerator Door Stop1267003781 Whirlpool Refrigerator Door Stop (BSQ)13WPW10348409 Whirlpool Screw14WP67001130 Whirlpool Refrigerator White Button Plug14WP12246608 Whirlpool Refrigerator Button14Plug, Button (Almond)17WPL 434436217Bushing (Black)18WPL 434422718Plug, Button (Black)19WPL 4343811