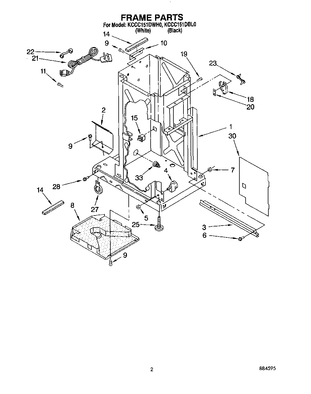
KCCC151DBL0 02 – FRAME