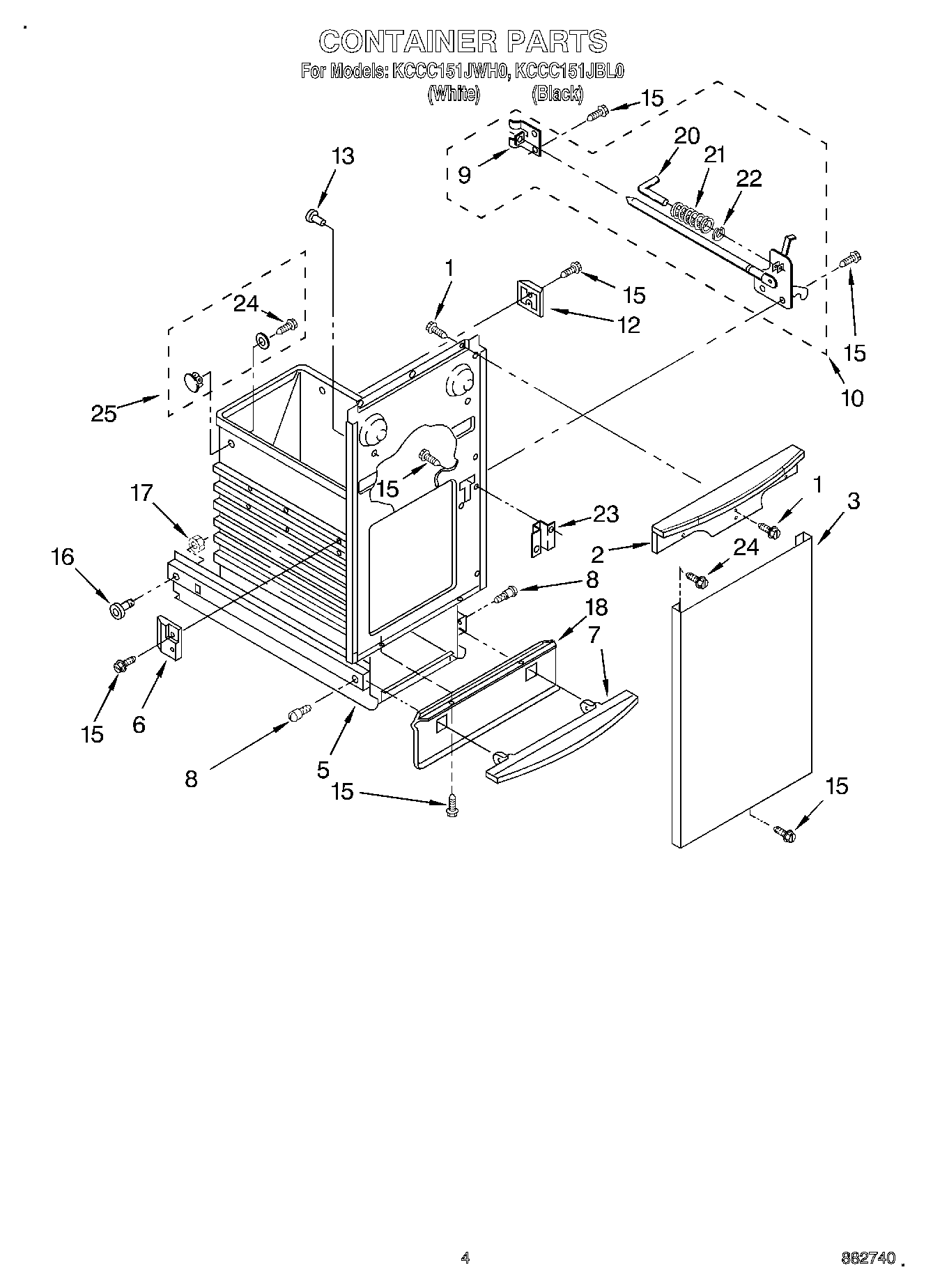
KCCC151JWH0 04 – CONTAINERadmin2025-04-26T12:26:48+00:00KCCC151JWH0 04 – CONTAINER ProductsPositionProduct1WP3400888 Whirlpool Compactor Screw2HANDLE3WP9871309 Whirlpool Compactor Panel3WP9871311 Whirlpool Compactor Panel5WPW10451276 Whirlpool Compactor Container6Guide, Container (2)7W11679165 Whirlpool Foot Pedal7WP9871031 Whirlpool Compactor Foot Pedal8WP780263 Whirlpool Compactor Screw9WP776395 Whirlpool Compactor Guide10675379 Whirlpool Compactor Drawer Latch129871125 Whirlpool Compactor Actuator13Bumper, Container (2)15WP489478 Whirlpool Refrigerator Screw16WP9871602 Whirlpool Compactor Bearing17WP776356 Whirlpool Compactor Nut18W10917704 Whirlpool Compactor Guard18WP777328 Whirlpool Compactor Guard20Pin21775736 Whirlpool Compactor Spring22Ring, ``E``23775665 Whirlpool Compactor Plate Latch24WP3196175 Whirlpool Screw25RETAINER, BAG