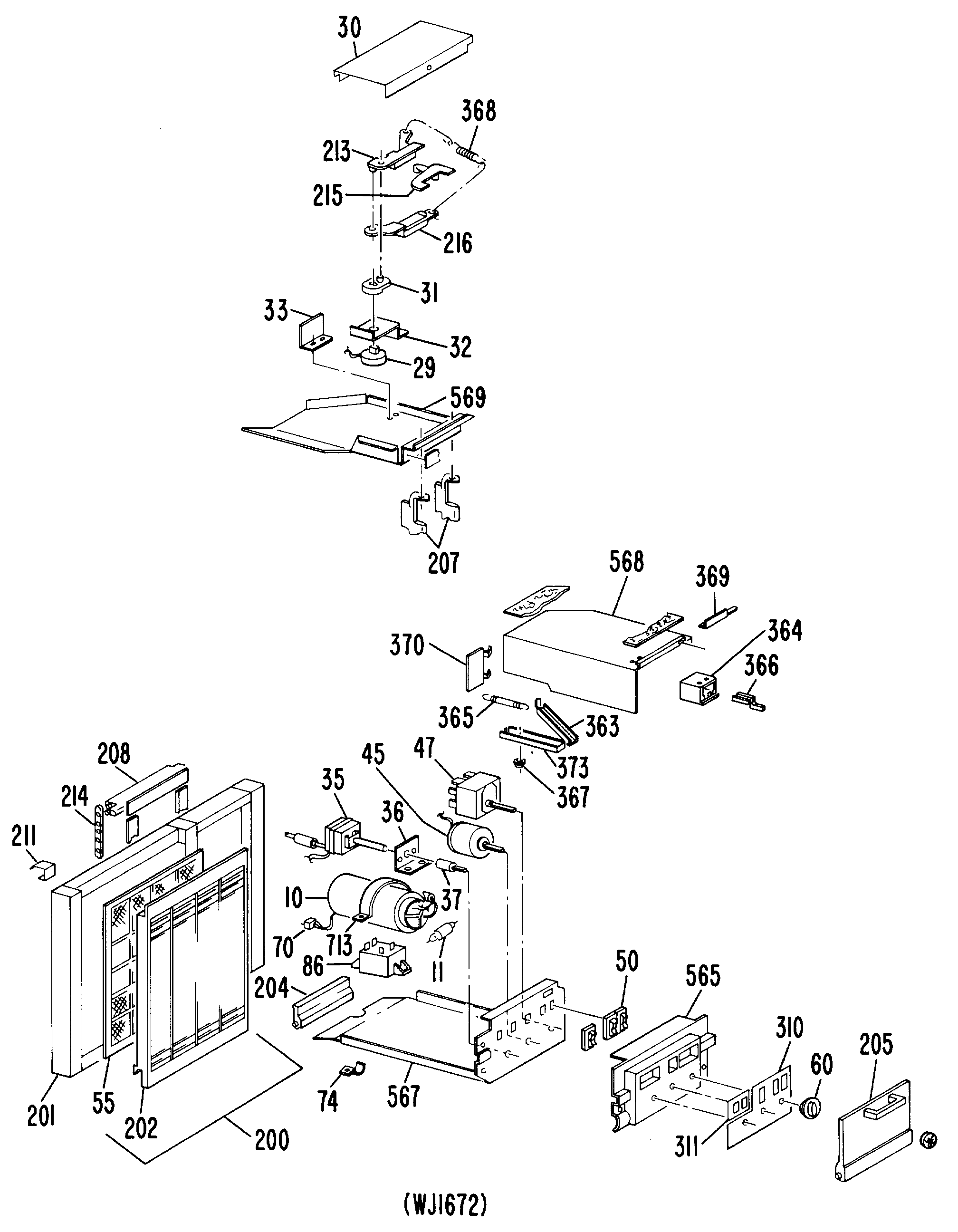
KCD09LAX1 0admin2025-04-26T08:48:19+00:00KCD09LAX1 0 ProductsPositionProduct10GEN WJ20X065411GEN WJ27X006520GEN WJ23X031329GEN WJ95X002330GEN WJ79X050131GEN WJ13X000132GEN WJ65X039333GEN WJ66X047335GEN WJ28X026536GEN WJ66X045438GEN WJ40X004745GEN WJ26X025850GEN WJ26X024055GEN WJ85X015060GEN WJ12X021370GEN WJ35X016874GEN WJ01X0837160GEN WJ53X0192200GEN WJ71X2191201GEN WJ71X2193202GEN WJ71X2196204GEN WJ71X2199207GEN WJ71X2200208GEN WJ71X2194211GEN WJ02X0524213GEN WJ14X0148214GEN WJ71X2198215GEN WJ71X2201216GEN WJ14X0147310GEN WJ07X0901311GEN WJ07X0903363GEN WJ14X0149364GEN WJ66X0458365GEN WJ02X0526366GEN WJ14X0151367GEN WJ01X0838368GEN WJ02X0527369GEN WJ14X0153370GEN WJ70X0349373GEN WJ14X0150408GEN WJ01X0862565GEN WJ79X0497567GEN WJ79X0500568GEN WJ79X0503569GEN WJ79X0502713GEN WJ03X03441010GEN WJ86X02089999GEN 30-77599999GEN 31-85459999GEN 39-7102