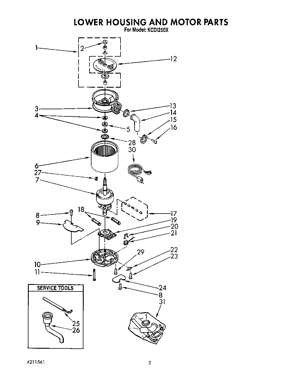
| 1 | 4211578 Whirlpool Disposer Sleeve |
| 3 | End Bell Assembly, Upper |
| 4 | Washer, Phenolic (2) |
| 5 | Washer, Rubber |
| 6 | Stator Assembly |
| 7 | Rotor And Shaft Assembly |
| 8 | Screw |
| 9 | Shield, Insulation |
| 10 | End Frame Assembly (Lower) |
| 11 | Bolt, Thru (4) |
| 12 | Shredder |
| 13 | Gasket, Tailpipe |
| 14 | 4211317 Whirlpool Disposer Tail Pipe |
| 15 | Flange, Tailpipe |
| 16 | WP8204624 Whirlpool Bolt |
| 17 | Transfer Assembly |
| 18 | Spring (2) (Centrifugal Actuator) |
| 19 | Switch Assembly, Start |
| 20 | Clip, Overload |
| 21 | Protector, Overload |
| 22 | Clamp, BX |
| 23 | Screw, Clamp (2) |
| 24 | Cover, Terminal |
| 25 | WP8174310 Whirlpool Disposer Wrench |
| 26 | 4211396 Whirlpool Disposer Adapter |
| 27 | Ring, C |
| 28 | Washer, Thrust |
| 29 | Screw, Ground |
| 30 | PLUG & CORD (GC1000PE4 ONLY) |
| 31 | Kit, Installation (Includes Nos. 13, 14, 15, 16, 25, Instructions and Use and Care Guide) |