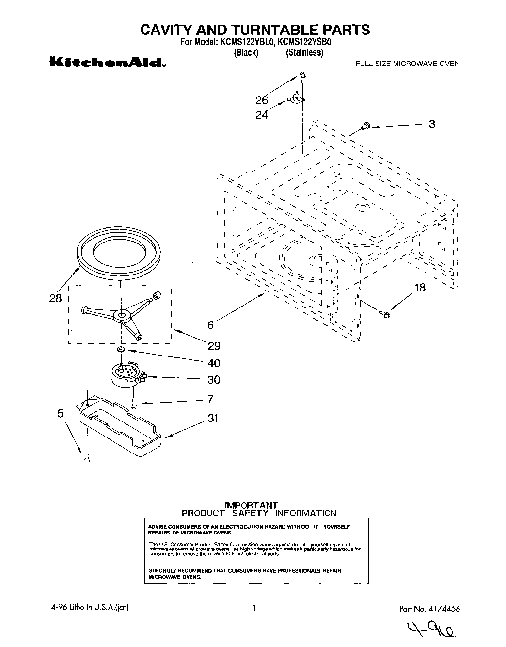
KCMS122YBL0 01 – CAVITY AND TURNTABLE