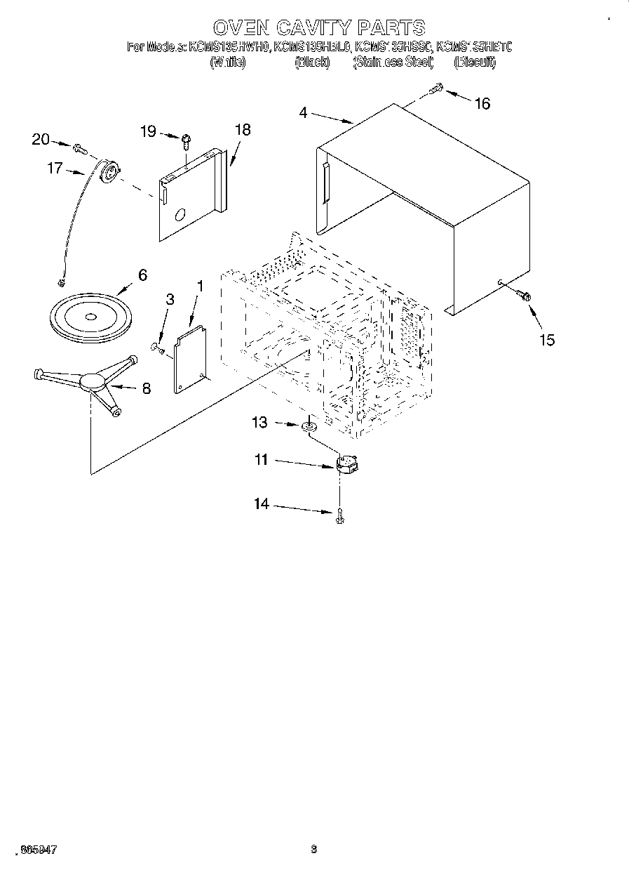
KCMS135HBT0 03 – OVEN CAVITY