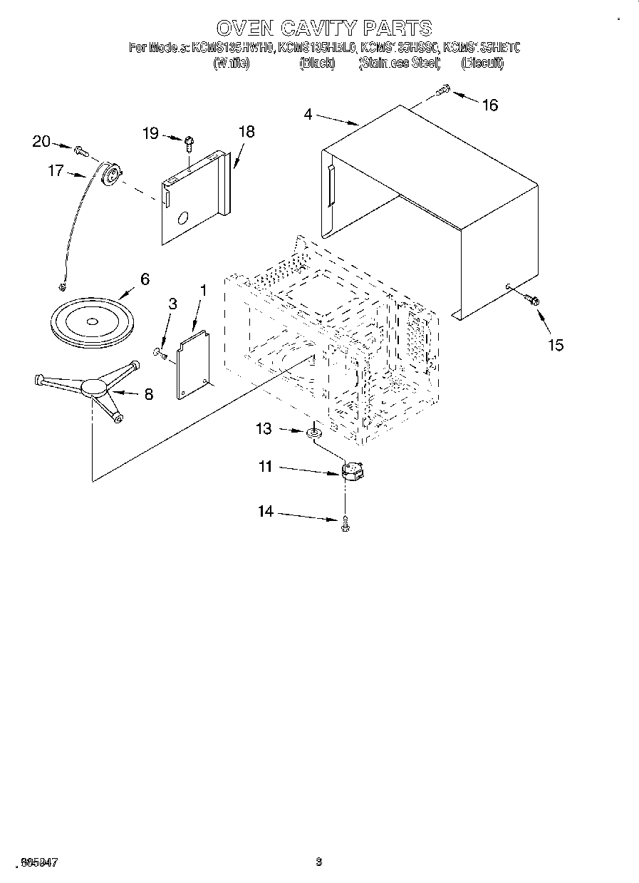
KCMS135HSS0 03 – OVEN CAVITYadmin2025-04-26T12:34:31+00:00KCMS135HSS0 03 – OVEN CAVITY ProductsPositionProduct1Canopy3WP4359508 Whirlpool Microwave Stir Rivet4Outer Case (Black)4Outer Case (White)4Outer Case (Biscuit)4Outer Case (Stainless)6WPW10267856 Whirlpool Microwave Cook Tray8Turntable Support11Motor, Synchronous13Seal, Water14Screw15Screw (Black)15Screw16Screw17Sensor18Sensor Duct19W11380570 Whirlpool Microwave Screw20Screw