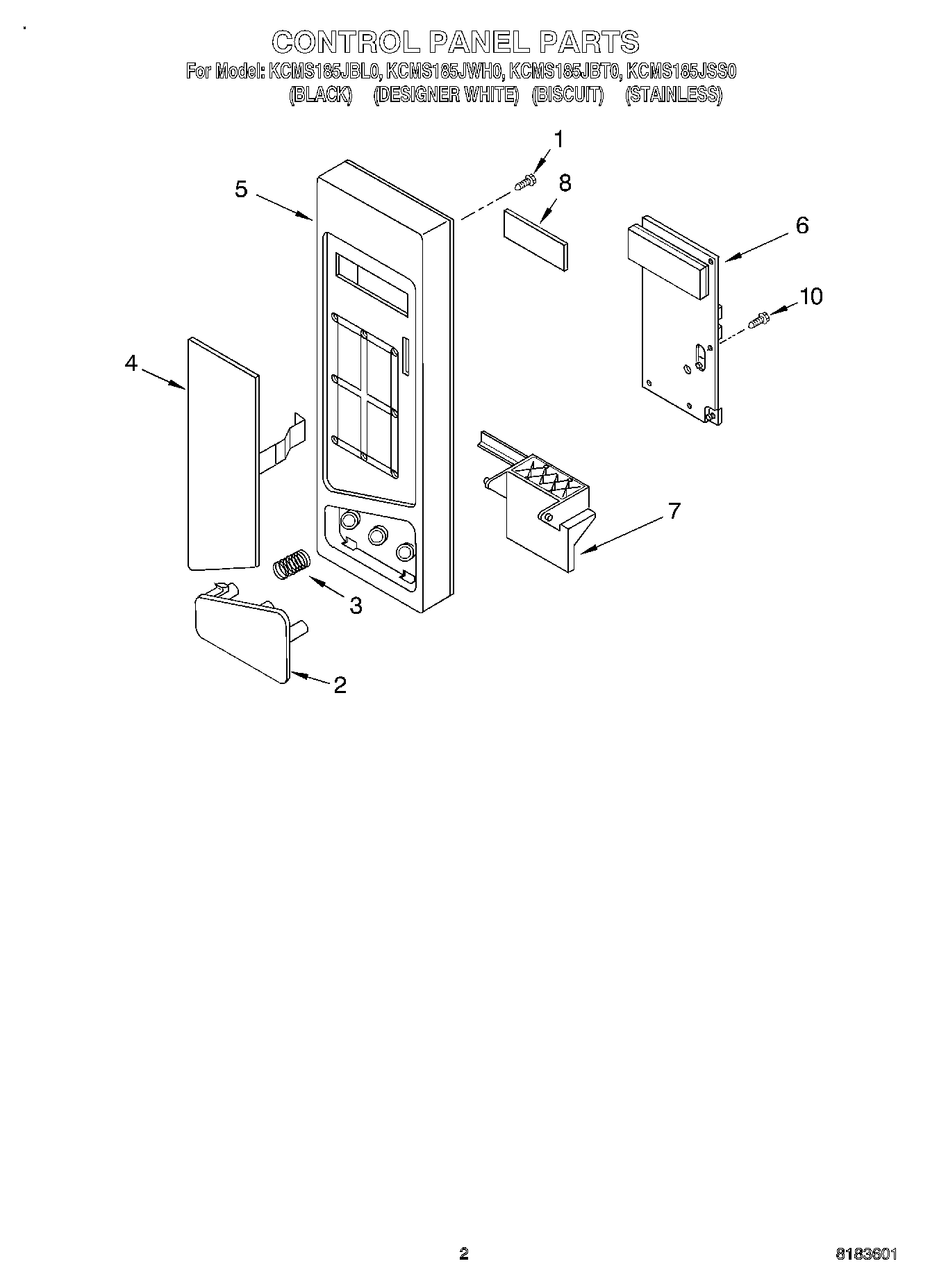
KCMS185JBT0 02 – CONTROL PANEL