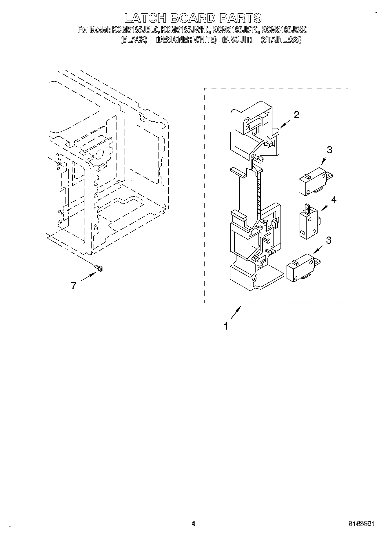
KCMS185JSS0 04 – LATCH BOARDadmin2025-04-26T12:35:33+00:00KCMS185JSS0 04 – LATCH BOARD ProductsPositionProduct1Latch Board Assembly (Not Serviceable)2WP8185271 Whirlpool Microwave Mounting Bracket34392027 Whirlpool Microwave Primary Switch7Screw