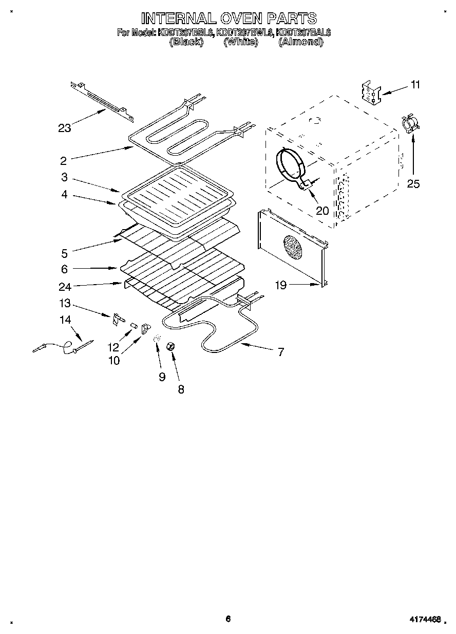
KDDT207BAL6 05 – INTERNAL OVEN