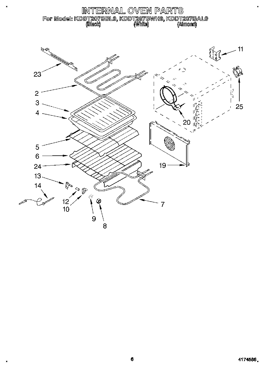
KDDT207BAL9 05 – INTERNAL OVEN