KEBI100BBL3 03 – OVEN, LITERATUREadmin2025-04-26T09:51:57+00:00KEBI100BBL3 03 – OVEN, LITERATURE
Products
| Position | Product |
|---|
| Tech Sheet |
| Installation Instructions |
| Use & Care Guide |
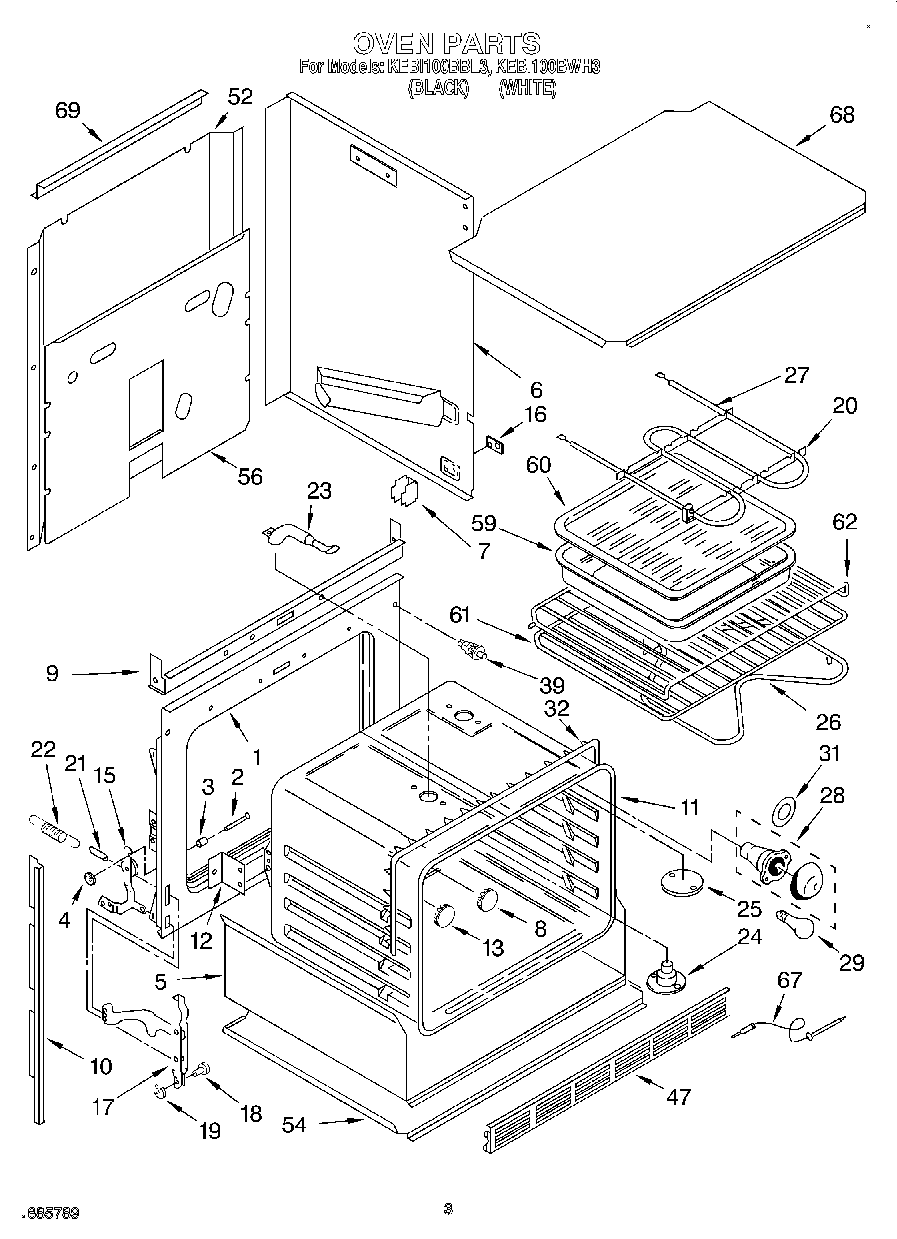
| 1 | Frame Front |
| 2 | Pin, Hinge Ear (2) |
| 3 | Snubber, Door (2) |
| 4 | Pushnut (2) |
| 5 | Insulation Tray |
| 6 | Side Wrapper (R.H.) |
| 6 | Side Wrapper (L.H.) |
| 7 | Support, Side Wrapper (4) |
| 8 | WPL 3185086 |
| 9 | Baffle, Top Insulation |
| 10 | Side Trim (Black Model, LH) |
| 10 | Side Trim (White Model, R.H.) |
| 10 | Side Trim (Black Model, RH) |
| 10 | Side Trim (White Model, LH) |
| 11 | Screw (3) |
| 11 | Oven 30`` |
| 12 | Bracket, Oven Mounting (2) |
| 13 | Button, Plug |
| 15 | Hinge, Ear (Right Side) |
| 15 | Hinge, Ear (Left Side) |
| 16 | Plate, Side Panel (2) |
| 16 | WP308544 Whirlpool Screw |
| 17 | Channel Arm (2) |
| 18 | WP307986 Whirlpool Hinge Pin |
| 19 | Retainer Ring (2) |
| 20 | Bracket, Element |
| 21 | WP308125 Whirlpool Microwave Range/Cooktop Anchor |
| 22 | WP308126 Whirlpool Door Spring |
| 23 | SCREW |
| 23 | Tube, Vent |
| 24 | Tube, Vent |
| 25 | WPL 310662 |
| 26 | Screw (2) |
| 26 | WP661416 Whirlpool Bake Element |
| 27 | Screw, (2) |
| 27 | Element, Broil |
| 28 | Screw (10-12 x .875) |
| 28 | W11594027 Whirlpool Range Oven Light Socket |
| 29 | RANGE ONLY 40W 120V APPL BULB |
| 31 | WP3184533 Whirlpool Range Light Lens Gasket |
| 32 | WPL 3185197 |
| 39 | Switch, Door |
| 47 | Grill, Bottom (White) |
| 47 | WP488627 Whirlpool Refrigerator Screw |
| 47 | Grill, Bottom (Black) |
| 47 | Grill, Bottom (Screw (3)) |
| 52 | Screw |
| 52 | WPL 3185961 |
| 54 | Cover, Bottom |
| 56 | Panel, Back |
| 60 | 4396923 Whirlpool Broil Pan Set Gray Porcelain |
| 61 | Rack, Straight |
| 62 | Rack, Offset |
| 67 | Sensor, Heat |
| 67 | WP488729 Whirlpool Refrigerator Door Screw |
| 68 | Cover, Top |
| 69 | Bracket, Mounting Control Frame |
| 69 | screw |
| 69 | WPL 3149328 |
| 69 | WPL 4454421 |