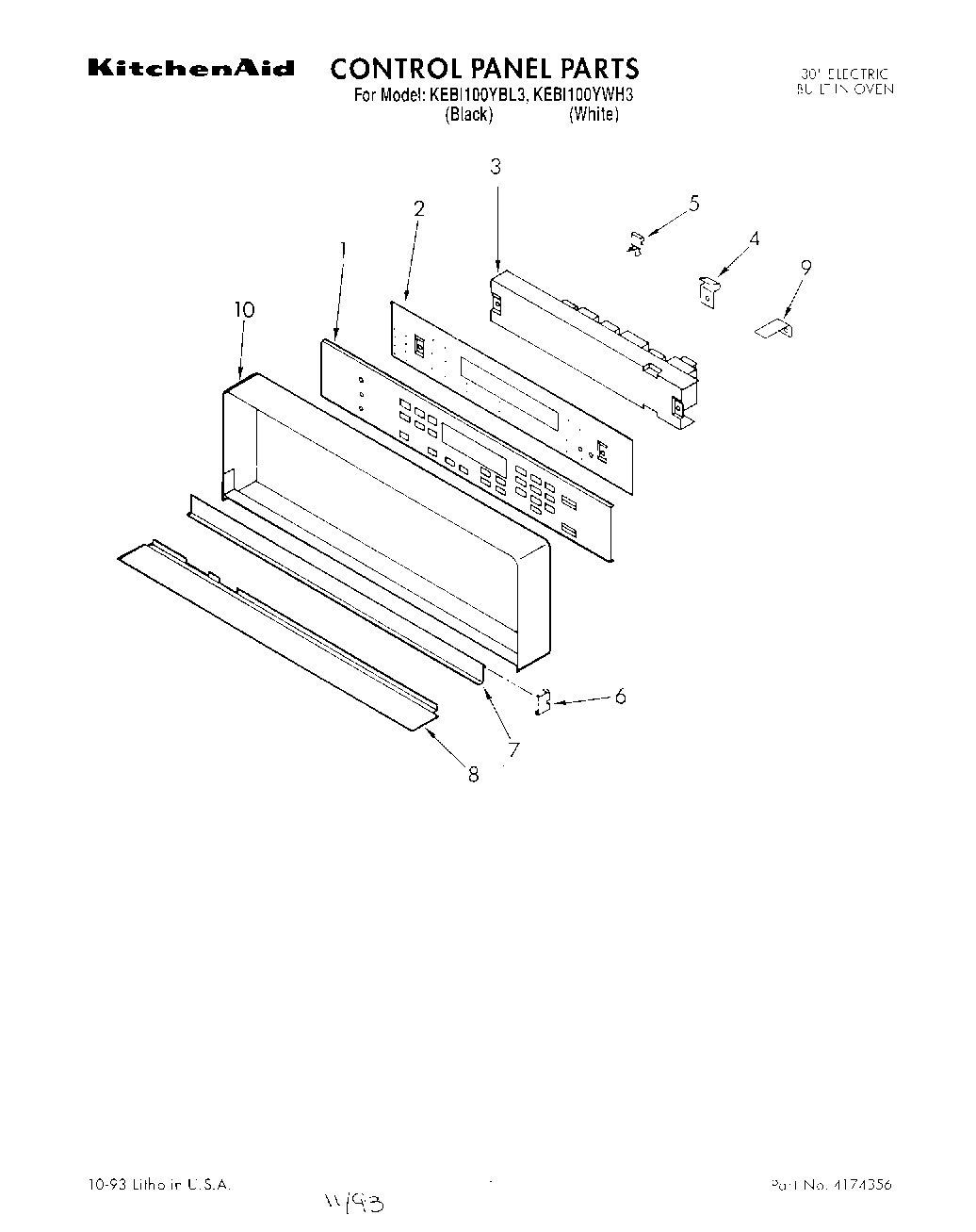
KEBI100YWH3 01 – CONTROL PANELadmin2025-04-26T09:51:58+00:00KEBI100YWH3 01 – CONTROL PANEL
Products
| Position | Product |
|---|
| 1 | Membrane, Switch (White) |
| 1 | Membrane, Switch (Black) |
| 2 | Bracket, Mounting Switch Membrane |
| 3 | Microcomputer |
| 4 | Clip, Control Frame |
| 5 | Clip, Retainer (3) |
| 6 | Trim, Door (2) |
| 7 | Door, Latch Handle (Screw (2)) |
| 7 | Door, Latch Handle (Black) |
| 7 | Door, Latch Handle (White) |
| 8 | Trim, Panel |
| 9 | Bracket (2) |
| 9 | Screw (2) |
| 10 | Frame, Control Panel |