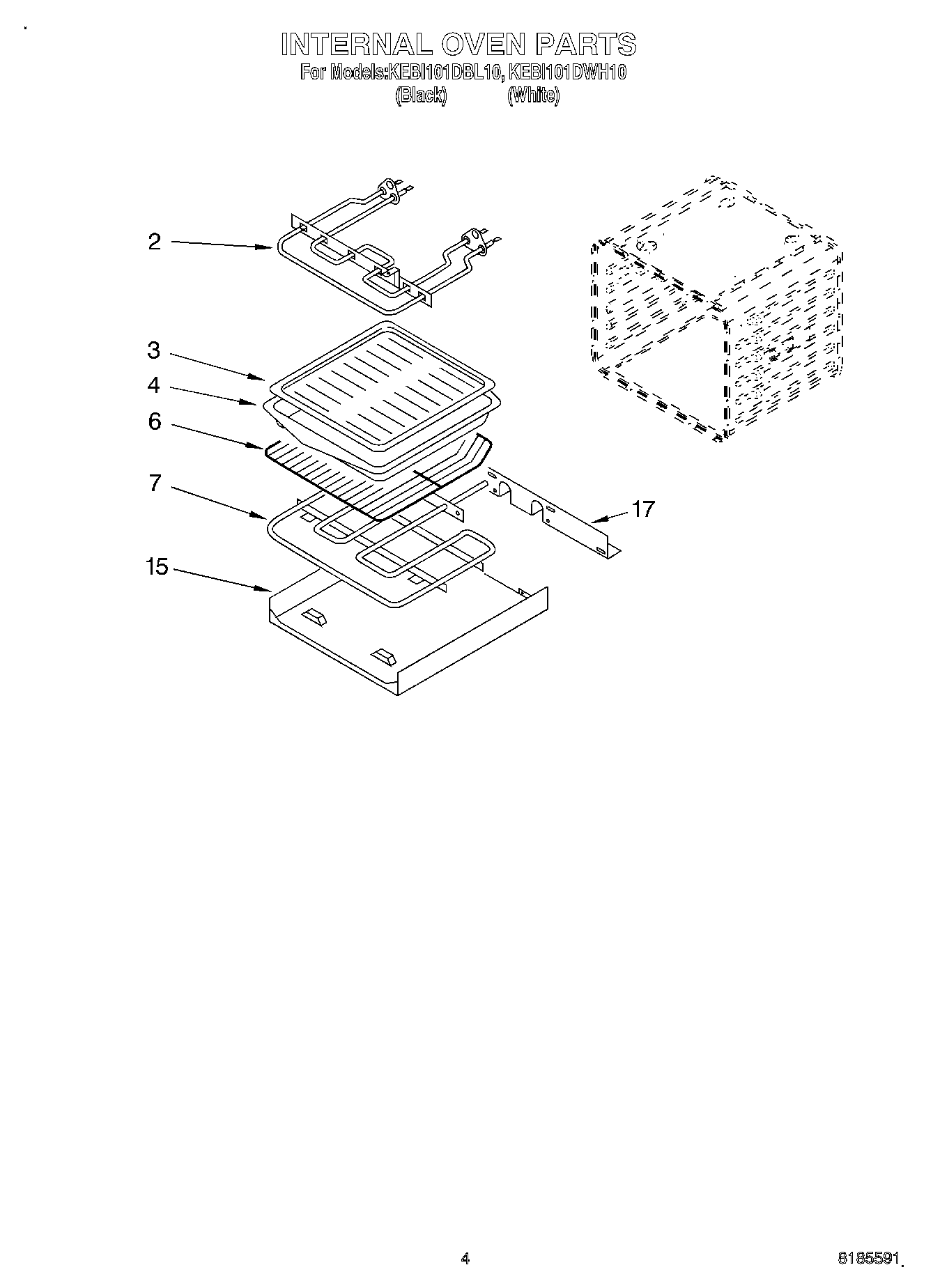
KEBI101DBL10 03 – INTERNAL OVEN