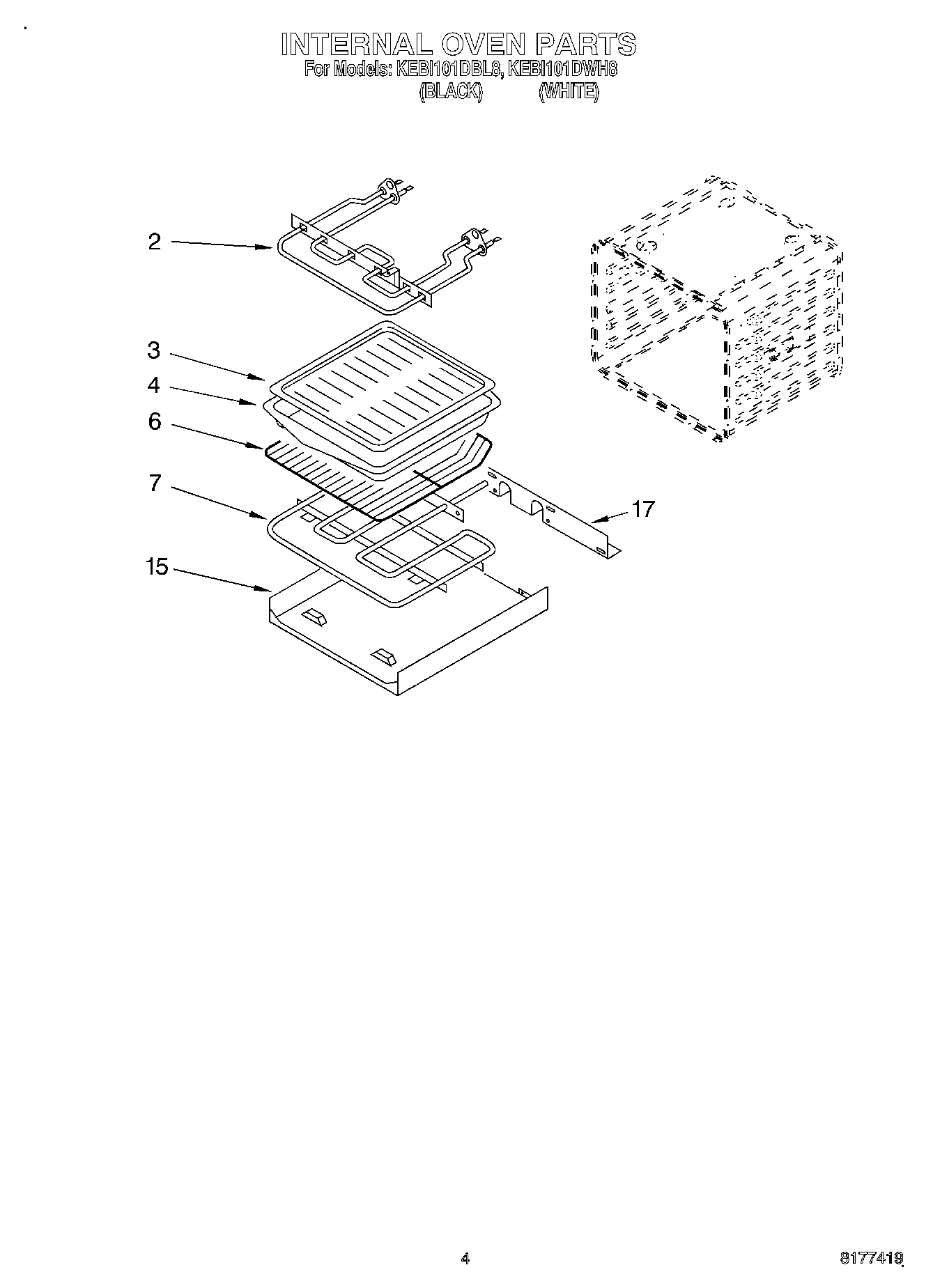
KEBI101DBL8 03 – INTERNAL OVENadmin2025-04-26T09:52:07+00:00KEBI101DBL8 03 – INTERNAL OVEN ProductsPositionProduct2WPW10207400 Whirlpool Broil Element2WP4449154 Whirlpool Screw34396923 Whirlpool Broil Pan Set Gray Porcelain6WPW10179152 Whirlpool Rack Oven7WP4449809 Whirlpool Screw74451175 Whirlpool Bake Element15Tray, Hidden Bake174450039 Whirlpool Oven Access Cover