KEBI141BBL0 05 – OVEN DOORadmin2025-04-26T09:51:24+00:00KEBI141BBL0 05 – OVEN DOOR
Products
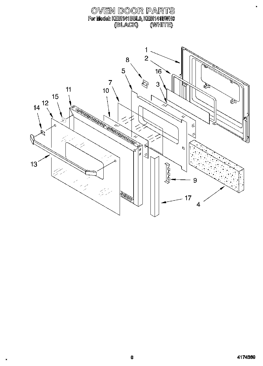
| Position | Product |
|---|
| 1 | Liner, Door |
| 1 | Screw, Black (2) |
| 2 | Seal, Window |
| 3 | Glass, Clear |
| 4 | Insulation, Door |
| 5 | Vent, Lower Trim (Screw (2)) |
| 5 | Retainer, Insulation |
| 7 | Glass, Reflective |
| 8 | Latch, Strike |
| 9 | Retainer, Glass |
| 9 | Screw |
| 10 | Glass, Clear |
| 11 | Frame, Door (White Model) |
| 11 | Frame, Door (Black Model) |
| 12 | Glass, Door (White Model) |
| 12 | Glass, Door (Black Model) |
| 13 | Handle, Door (Black Model) |
| 13 | Handle, Door (White Model) |
| 14 | Spacer, Door Handle |
| 15 | Screw, 10-32 x 1/2 |
| 15 | Bushing, Door Handle |
| 15 | Screw |
| 16 | Foil-Adhesive |
| 17 | Foil-Adhesive |