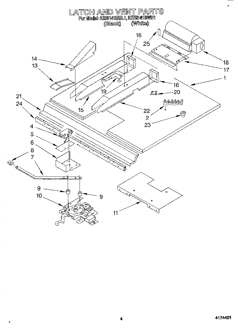
KEBI141BBL1 03 – LATCH AND VENT