KEBI141BWH0 02 – CONTROL PANEL, LITERATUREadmin2025-04-26T09:53:12+00:00KEBI141BWH0 02 – CONTROL PANEL, LITERATURE
Products
| Position | Product |
|---|
| Installation Instructions |
| Use & Care Guide |
| Tech Sheet |
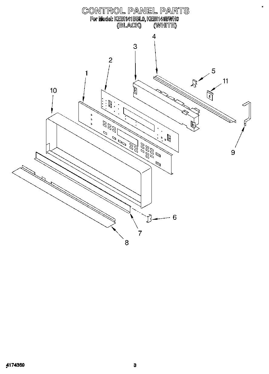
| 1 | Membrane, Switch (White Model) |
| 1 | Membrane, Switch (Black Model) |
| 2 | Bracket, Mounting Switch Membrane |
| 3 | Microcomputer |
| 3 | Screw (2) |
| 4 | Retainer, Bracket |
| 5 | Clip, Retainer (3) |
| 6 | Trim, Door (2) |
| 7 | Door, Latch Handle (Black) |
| 7 | Door, Latch Handle (White) |
| 8 | Trim, Panel |
| 8 | Screw |
| 9 | Screw (2) |
| 9 | Bracket (2) |
| 10 | Frame, Control Panel (Black Model) |
| 10 | Frame, Control Panel (White Model) |
| 11 | Clip, Control Frame |
| 11 | Screw |