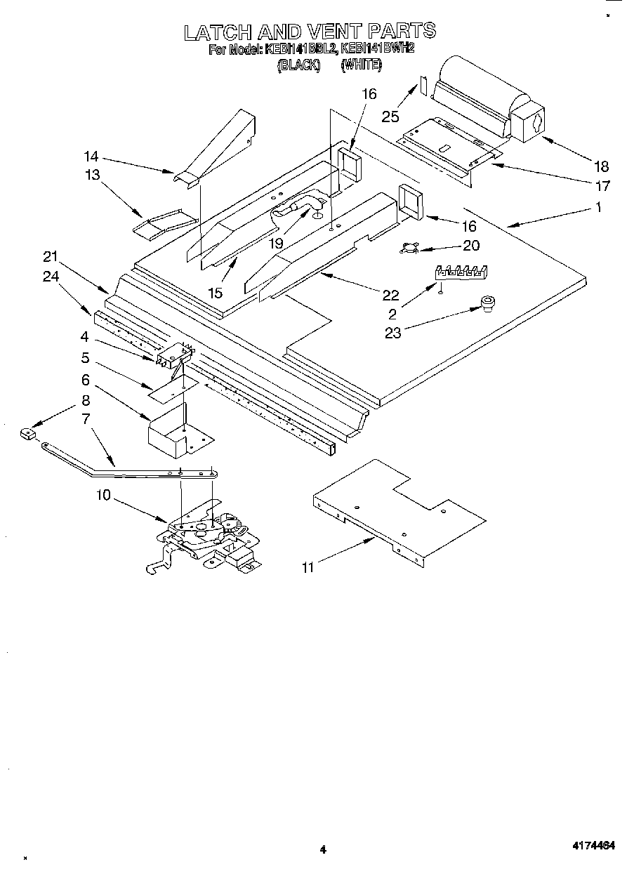
KEBI141BWH2 03 – LATCH AND VENT