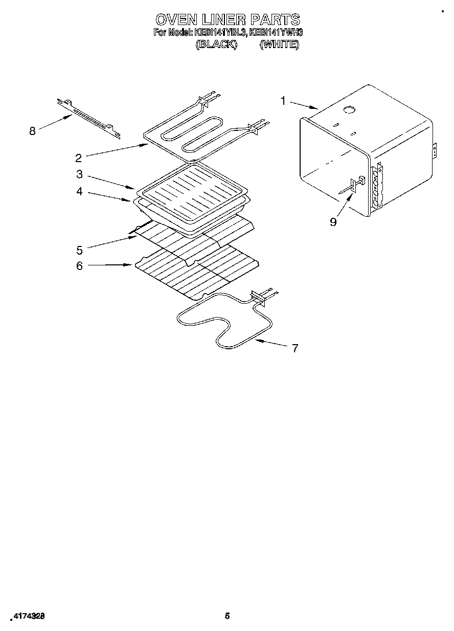
KEBI141YBL3 04 – OVEN LINERadmin2025-04-26T09:52:31+00:00KEBI141YBL3 04 – OVEN LINER ProductsPositionProduct1Liner, Oven2Element, Broil34396923 Whirlpool Broil Pan Set Gray Porcelain5Rack, Offset6Rack, Oven7WP661416 Whirlpool Bake Element8Bracket, Element9Screw (2)9Sensor, Heat