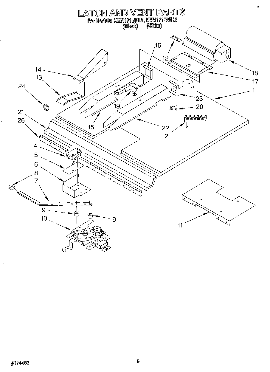
KEBI171BBL2 04 – LATCH AND VENT