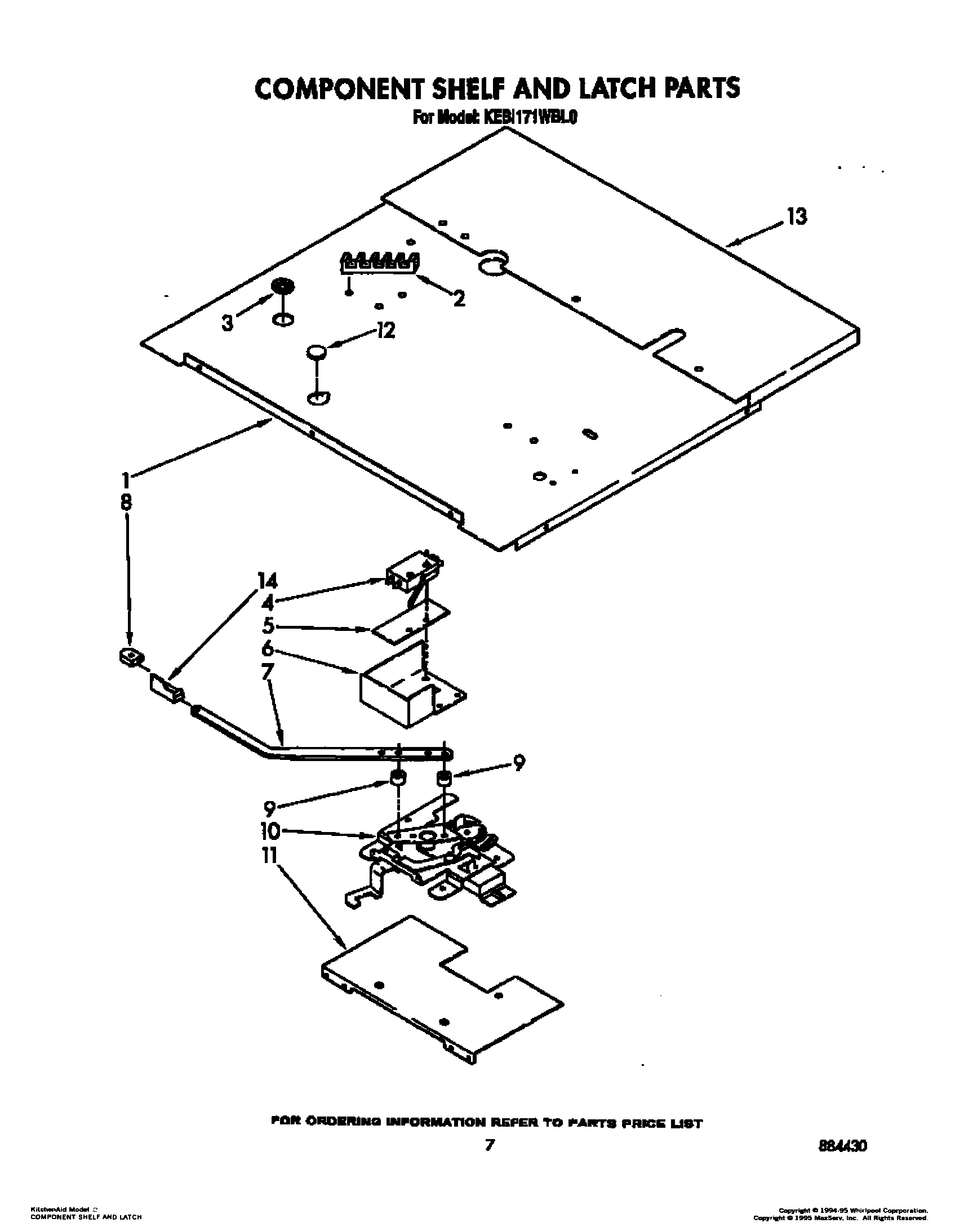
KEBI171WBL0 05 – COMPONENT SHELF AND LATCH