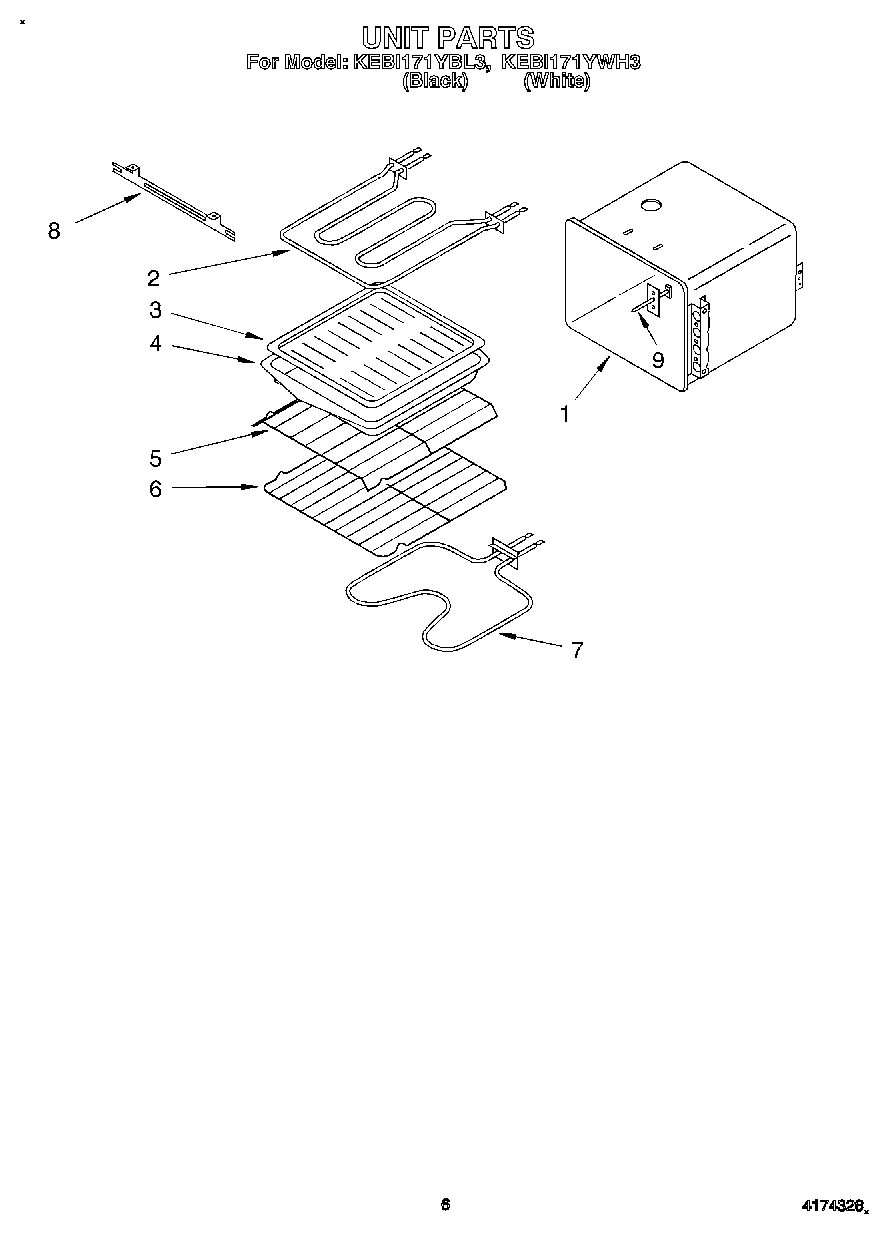
KEBI171YBL3 05 – UNITadmin2025-04-26T09:50:55+00:00KEBI171YBL3 05 – UNIT ProductsPositionProduct1Liner, Oven2Element, Broil34396923 Whirlpool Broil Pan Set Gray Porcelain5Rack, Offset6Rack, Oven7WP661416 Whirlpool Bake Element8Bracket, Element9Screw (2)9Sensor, Heat